指南生活
首页
美食营养
手工爱好
生活家居
返回
指南生活
首页
美食营养
游戏数码
手工爱好
生活家居
健康养生
运动户外
职场理财
情感交际
母婴教育
时尚美容
知识问答
生活知识
生活百科
搜索
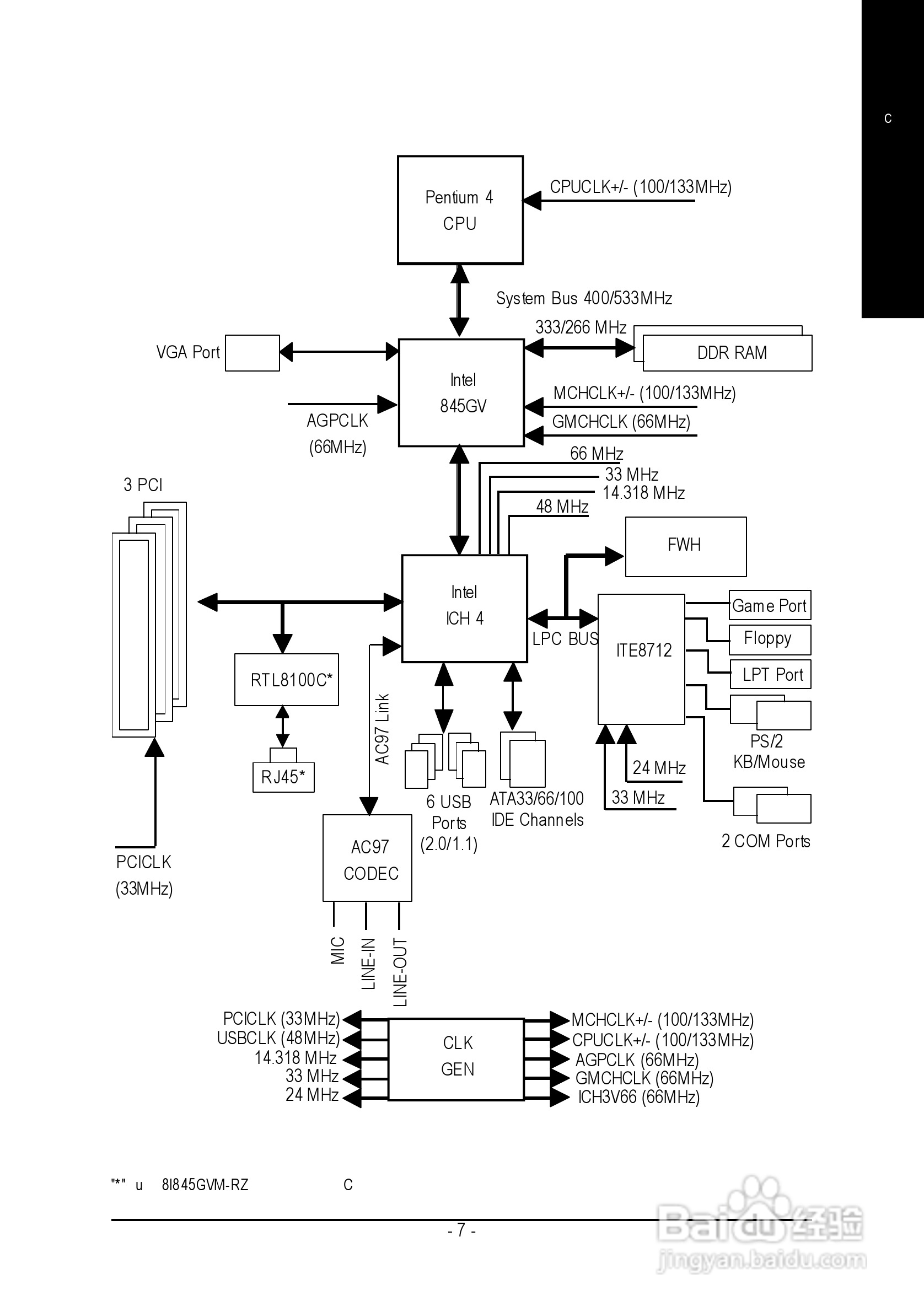
技嘉 8I845GVM-RZC主板说明书:[1]
2026-05-15 23:07:02
本篇为《技嘉 8I845GVM-RZC主板说明书》,主要介绍该产品的使用方法以及常见故障解决方案。
(共篇)
下一篇:
声明:
本网站引用、摘录或转载内容仅供网站访问者交流或参考,不代表本站立场,如存在版权或非法内容,请联系站长删除,联系邮箱:site.kefu@qq.com。
相关推荐
技嘉 8I845GVM-RZC主板说明书:[3]
阅读量:62
技嘉 8I845GVM-RZ-C主板说明书:[1]
阅读量:177
技嘉 GA-8I865GVMK主板说明书:[1]
阅读量:39
技嘉 GA-K8VT800 (Rev 1.x)主板说明书:[8]
阅读量:43
技嘉主板bios升级教程
阅读量:137
猜你喜欢
什么是梦想
黑莲花是什么意思
暗示的近义词是什么
食道炎是什么症状
6月1日是什么星座
公关是什么意思
9月3日是什么节日
pc机是什么
啤酒加味精的作用是什么
wc是什么意思
猜你喜欢
西皮是什么意思
love是什么意思
down是什么意思
什么伴我成长作文
热病是什么病
建档立卡是什么意思
岁月如梭是什么意思
魇是什么意思
紫薯不能和什么一起吃
背离是什么意思