藏地式小剪检验地基是否合格的方法步骤
1、先准备好相关工具:卷尺、冲击钻、弯铁棍、水平尺,卷尺用来距离,冲击钻用测水泥强度,铁棍用来测深度,水平尺用来测平衡。

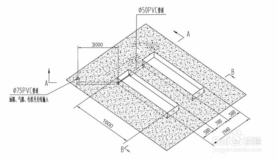
2、然后使用卷尺测量地基的尺寸,拿出藏地式举升机的地基图对照图纸测量尺寸,偏差不能太大,一般不能超过10mm的误差。如下图所示测量地基坑槽的长、宽、高,坑槽之间的间距,PVC埋管的位置距离。偏差不超过正负10mm为合格。

3、把水平尺放在坑槽底部测量坑槽的平衡度,观测水平仪,水滴在中间位置水平合格。坑槽底部歪斜误差不超过3mm,如在测量时发现不水平偏差大,必须再使用水泥将坑槽底地面填平,测量平衡为止。误差不超过3mm,水平仪中间水滴稍微往左或者右偏1mm左右为合格,依靠肉眼观察。测量位置如图二中红色圈圈部位。



4、将冲击钻找出,上好φ18的钻头,选择最左边、中间位置、最右边各打孔测试,记住必须是坑槽底部中间一条线上打孔测试,其它部位不能打测试孔,因设备安装孔是在四个对角位置。钻20公分深,观察出来的水泥粉,钻孔过程中感受打钻吃力度,如打的比较慢,则水泥非常硬强度好。如打的比较快,则证明水泥硬度一般。如出来的粉末中有黄泥,则地基水泥厚度未达到20公分,这时使用弯铁棍进行测量,将铁棍插入孔中,观察沾在上面的粉末,下面沾黄泥的部位开始测量到顶部长度大于12公分以上则厚度合格。观察钻孔出来的水泥粉,呈现面粉状,则强度合格。

声明:本网站引用、摘录或转载内容仅供网站访问者交流或参考,不代表本站立场,如存在版权或非法内容,请联系站长删除,联系邮箱:site.kefu@qq.com。
阅读量:75
阅读量:188
阅读量:153
阅读量:151
阅读量:177