指南生活
首页
美食营养
手工爱好
生活家居
返回
指南生活
首页
美食营养
游戏数码
手工爱好
生活家居
健康养生
运动户外
职场理财
情感交际
母婴教育
时尚美容
知识问答
生活知识
搜索
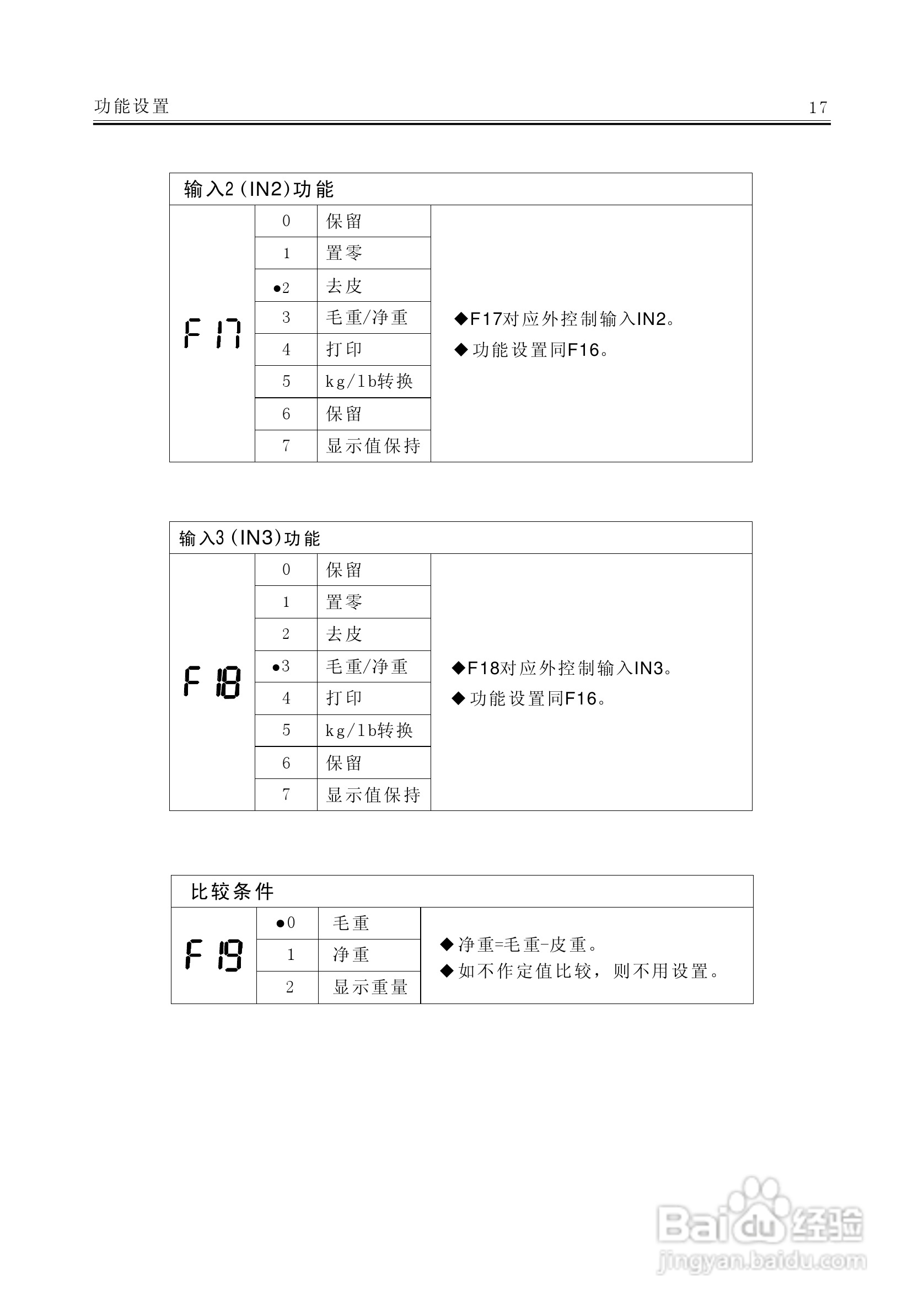
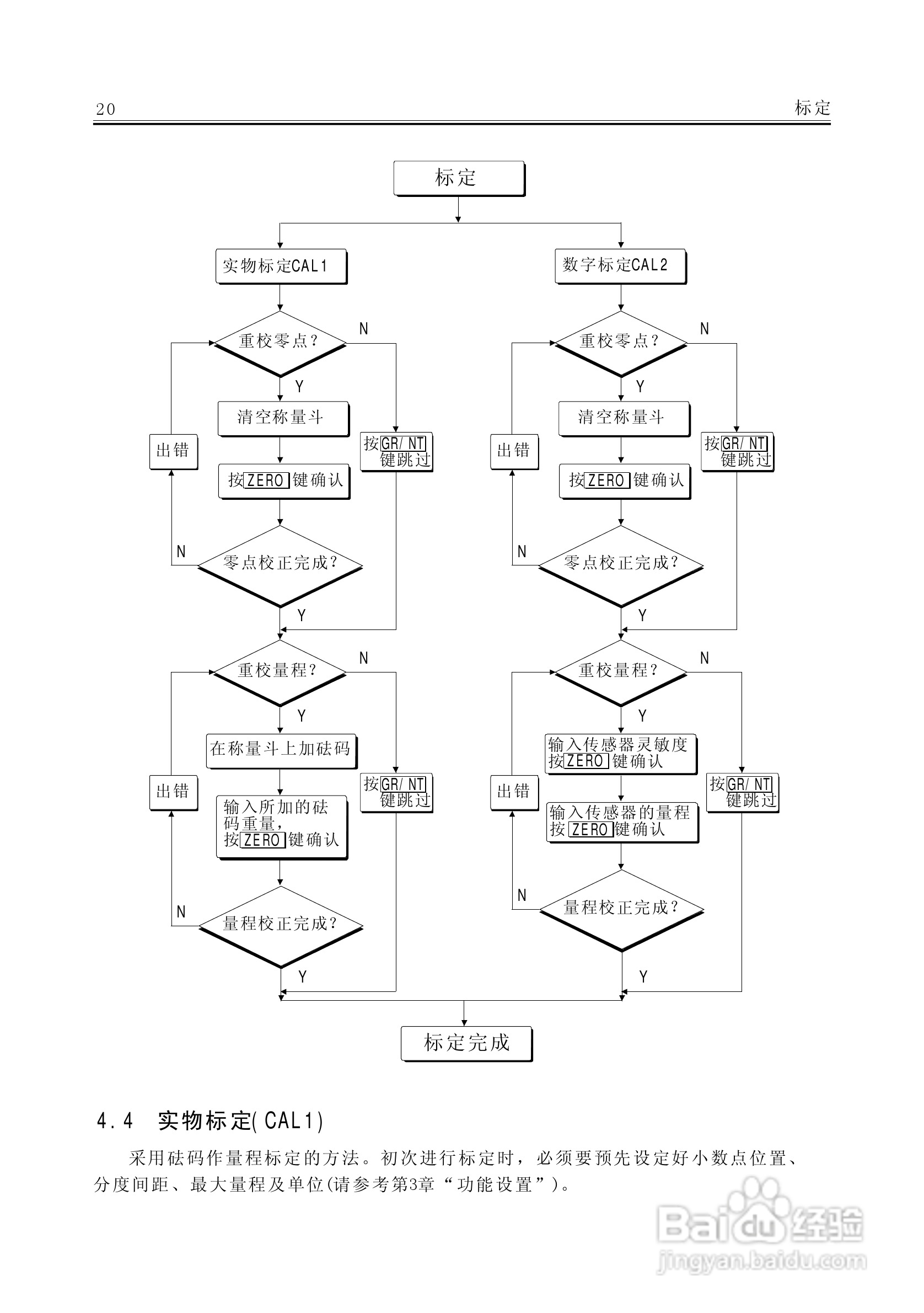
AC-9100A称重显示器说明书:[3]
2025-12-29 07:06:49
(共篇)
上一篇:
|
下一篇:
声明:
本网站引用、摘录或转载内容仅供网站访问者交流或参考,不代表本站立场,如存在版权或非法内容,请联系站长删除,联系邮箱:site.kefu@qq.com。
相关推荐
AC-9100A称重显示器说明书:[1]
阅读量:169
AC-9100A称重显示器说明书:[4]
阅读量:82
AC-9100A称重显示器说明书:[2]
阅读量:105
RNO红外热成像仪DC 25技术参数
阅读量:169
欧姆龙(OMRON)3G3JZ-A4037变频器说明书:[1]
阅读量:140
猜你喜欢
袋鼠妈妈护肤品怎么样
身份证掉了怎么挂失
为什么会说梦话
为什么我的精子发黄
变形缝做法
白菜饺子馅的做法
vlookup怎么用详细步骤
羊肉怎么去膻味
玉树怎么养
松子玉米的家常做法
猜你喜欢
怎么进入路由器设置界面
玛吉斯轮胎质量怎么样
为什么下水道的盖子是圆的
山药痒怎么快速止痒
口干舌燥喝水也不解渴怎么办
榫怎么读
怎么按摩前列腺
垃圾桶怎么画
土豆面膜的做法
地下室外墙防水做法