指南生活
首页
美食营养
手工爱好
生活家居
返回
指南生活
首页
美食营养
游戏数码
手工爱好
生活家居
健康养生
运动户外
职场理财
情感交际
母婴教育
时尚美容
知识问答
生活知识
生活百科
搜索
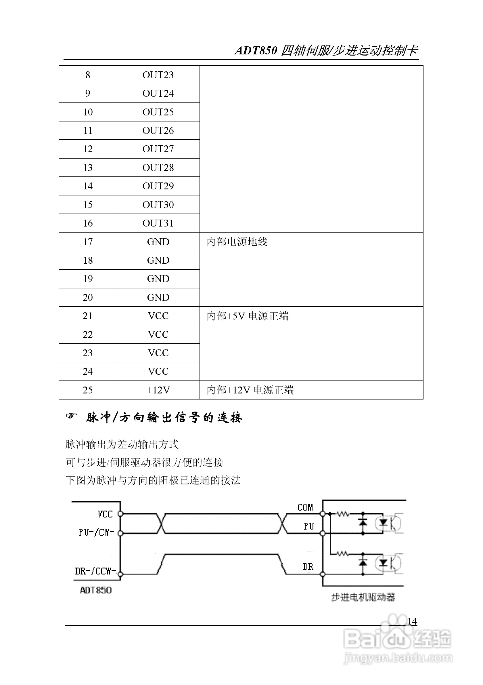
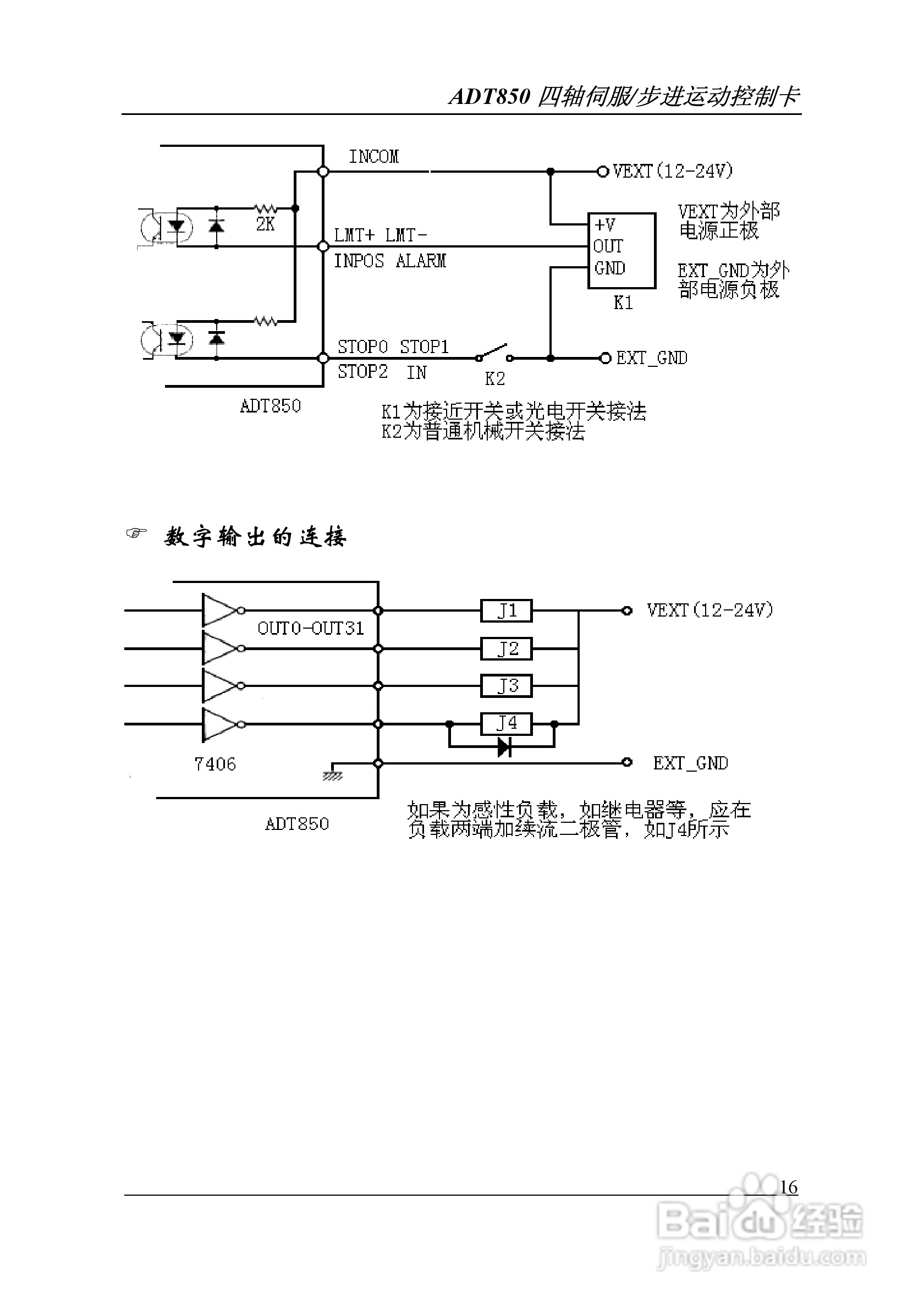
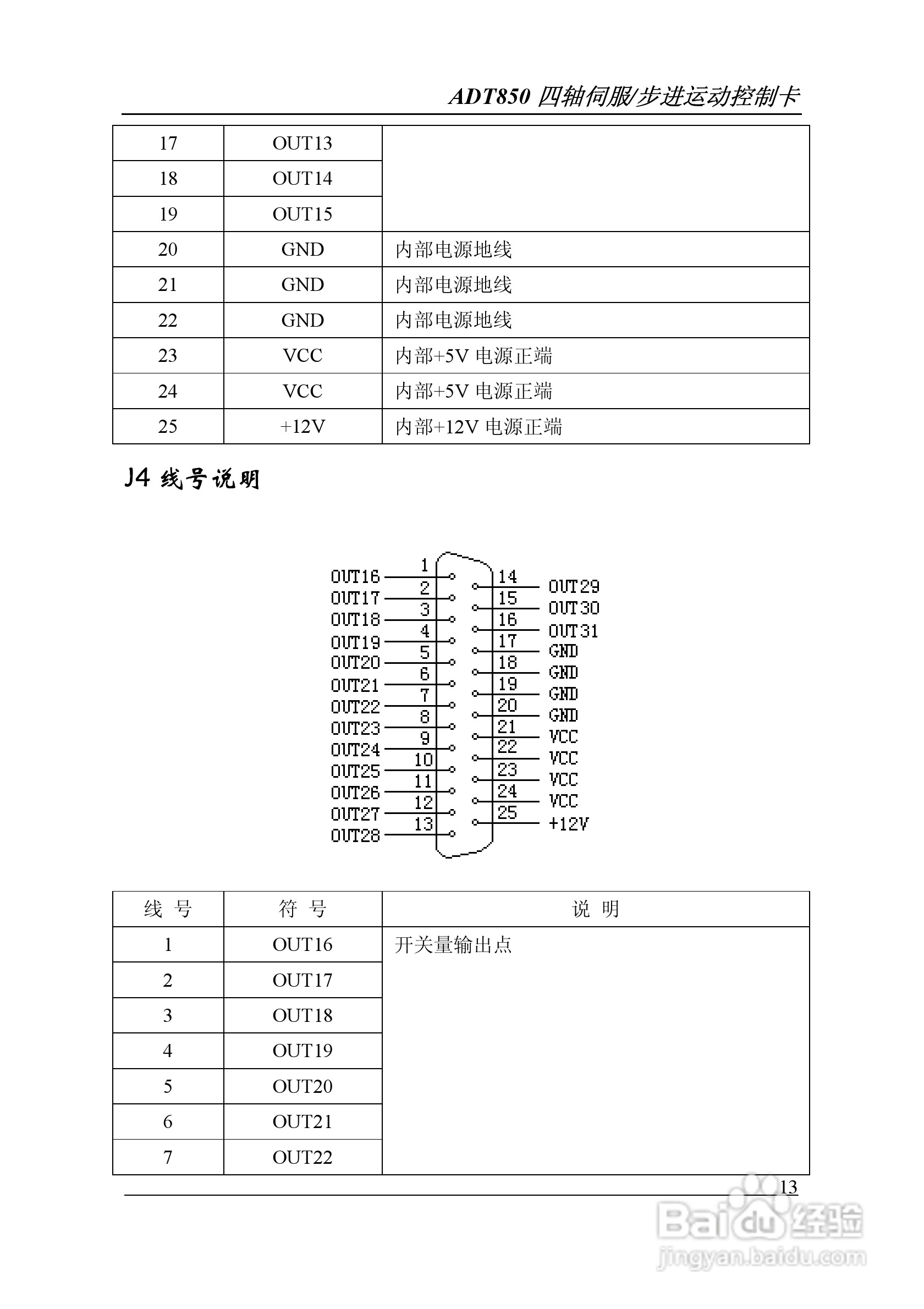
Adtech-众为兴ADT-850运动控制卡说明书:[2]
2026-05-10 13:45:49
本篇为《Adtech-众为兴ADT-850运动控制卡说明书》,主要介绍该产品的使用方法以及常见故障解决方案。
(共篇)
上一篇:
|
下一篇:
声明:
本网站引用、摘录或转载内容仅供网站访问者交流或参考,不代表本站立场,如存在版权或非法内容,请联系站长删除,联系邮箱:site.kefu@qq.com。
相关推荐
Adtech-众为兴ADT-850运动控制卡说明书:[10]
阅读量:178
Adtech-众为兴ADT-852运动控制卡说明书:[3]
阅读量:174
Adtech-众为兴ADT-854基于PCI总线的4轴运动控制卡说明:[2]
阅读量:183
Adtech-众为兴ADT-854基于PCI总线的4轴运动控制卡说明:[6]
阅读量:51
Adtech-众为兴ADT-854基于PCI总线的4轴运动控制卡说明:[5]
阅读量:161
猜你喜欢
微博抽奖平台怎么用
英国牛栏奶粉怎么样
安植化妆品怎么样
生石花怎么养
交印花税怎么做分录
马自达阿特兹怎么样
800米怎么跑
安徽工业大学怎么样
婴儿黄疸怎么治疗
萝卜干怎么腌好吃又脆
猜你喜欢
罗永浩事件是怎么回事
晚上睡觉出汗是怎么回事
现代途胜怎么样
scissors怎么读
怎么拍视频
手机没信号怎么办
我的世界萤石怎么做
税费怎么算
徐晃怎么死的
面包虫怎么繁殖