指南生活
首页
美食营养
手工爱好
生活家居
返回
指南生活
首页
美食营养
游戏数码
手工爱好
生活家居
健康养生
运动户外
职场理财
情感交际
母婴教育
时尚美容
知识问答
生活知识
搜索
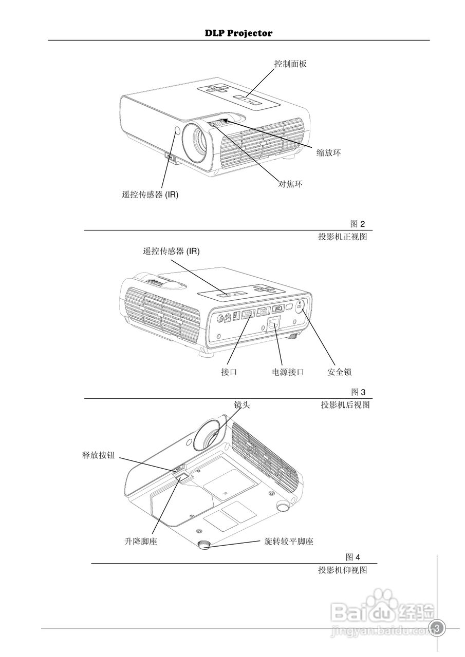
雅图ACTO DX123投影机使用说明书:[1]
2025-12-24 05:25:30
本篇为《雅图ACTO DX123投影机使用说明书》,主要介绍该产品的使用方法以及常见故障解决方案。
(共篇)
下一篇:
声明:
本网站引用、摘录或转载内容仅供网站访问者交流或参考,不代表本站立场,如存在版权或非法内容,请联系站长删除,联系邮箱:site.kefu@qq.com。
相关推荐
雅图ACTO DX123投影机使用说明书:[2]
阅读量:50
雅图ACTO DX128投影机使用说明书:[4]
阅读量:58
雅图ACTO DX125投影机使用说明书:[4]
阅读量:80
投影机怎样连接使用
阅读量:46
投影机ip设置
阅读量:193
猜你喜欢
anyway是什么意思
success是什么意思
费列罗巧克力代表什么
谈笑风生是什么意思
资本性支出是什么意思
脚臭怎么办有什么妙招
成语意思大全
偏见的意思
什么是精油开背
三眼一板的意思
猜你喜欢
风采的意思
六月雪什么时候开花
嗟来之食的意思
什么是市盈率和市净率
sandy是什么意思
actress是什么意思
什么是注塑机
重阳节的祝福语
stdev是什么意思
status是什么意思