指南生活
首页
美食营养
手工爱好
生活家居
返回
指南生活
首页
美食营养
游戏数码
手工爱好
生活家居
健康养生
运动户外
职场理财
情感交际
母婴教育
时尚美容
知识问答
生活知识
生活百科
搜索
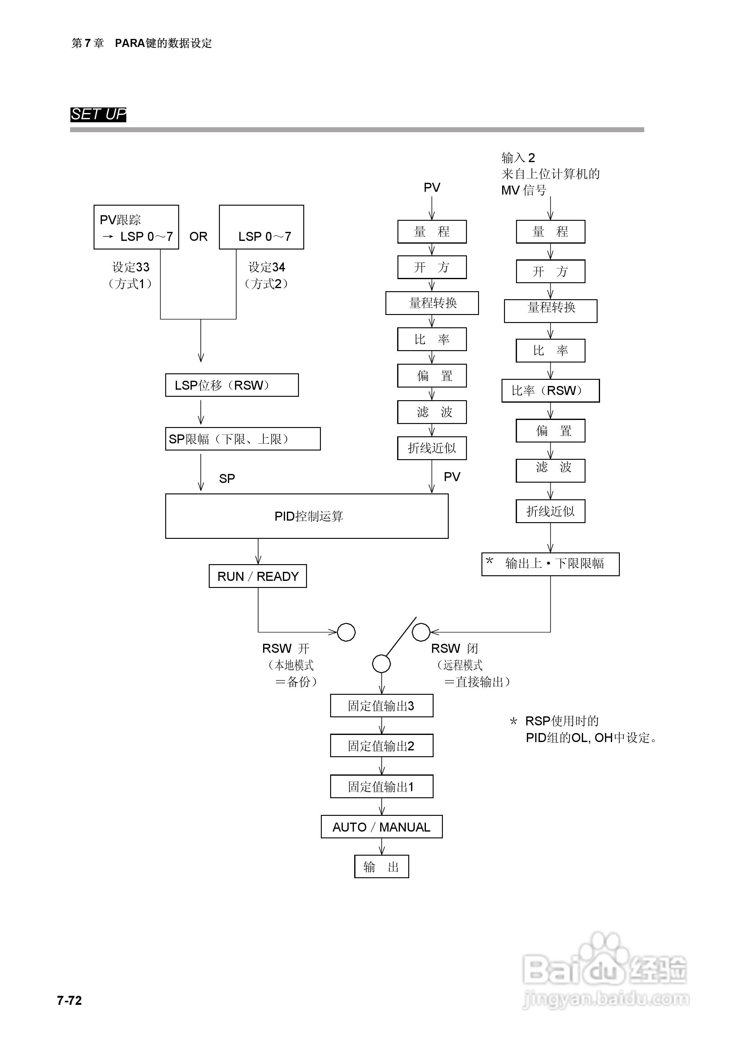
日本山武指示调节器SDC40A使用说明书:[13]
2026-03-29 12:54:02
本篇为《日本山武指示调节器SDC40A使用说明书》,主要介绍该产品的使用方法以及常见故障解决方案。
(共篇)
上一篇:
|
下一篇:
声明:
本网站引用、摘录或转载内容仅供网站访问者交流或参考,不代表本站立场,如存在版权或非法内容,请联系站长删除,联系邮箱:site.kefu@qq.com。
相关推荐
日本山武指示调节器SDC40A使用说明书:[18]
阅读量:124
使用说明书封面怎么做
阅读量:29
使用说明书wf2651使用指南
阅读量:36
日本山武指示调节器SDC40A使用说明书:[8]
阅读量:141
日本山武指示调节器SDC40A使用说明书:[9]
阅读量:135
猜你喜欢
开机密码怎么修改
怎么炸辣椒油
卤三国怎么样
怎么做课件
戴尔笔记本电脑怎么样
阿桑怎么死的
花苞头怎么扎
空调扇怎么用
孩子鼻炎怎么办
邹怎么读音
猜你喜欢
眼睫毛怎么变长
正天丸治头痛怎么样
女性排卵期怎么算
体温计碎了怎么办
牙龈痛怎么快速止痛
乳晕大怎么回事
个人工作计划怎么写
睡不着觉该怎么办
ppt怎么换背景
佳能墨盒怎么加墨水