指南生活
首页
美食营养
手工爱好
生活家居
返回
指南生活
首页
美食营养
游戏数码
手工爱好
生活家居
健康养生
运动户外
职场理财
情感交际
母婴教育
时尚美容
知识问答
生活知识
搜索
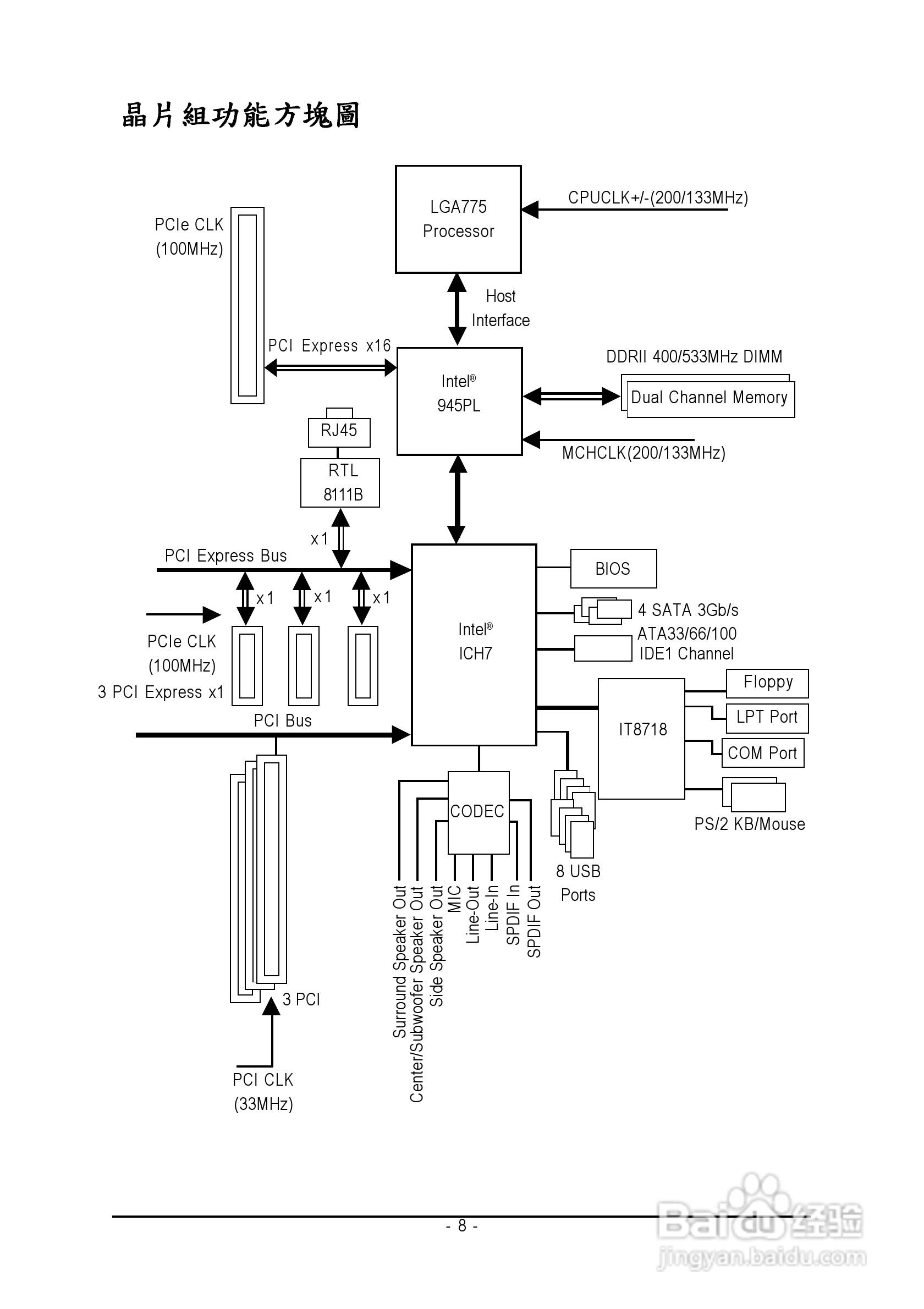
技嘉GA-945PL-S3型主板说明书:[1]
2026-01-01 05:33:06
本篇为《技嘉GA-945PL-S3型主板说明书》,主要介绍该产品的使用方法以及常见故障解决方案。
(共篇)
下一篇:
声明:
本网站引用、摘录或转载内容仅供网站访问者交流或参考,不代表本站立场,如存在版权或非法内容,请联系站长删除,联系邮箱:site.kefu@qq.com。
相关推荐
技嘉GA-945PL-S3 (rev. 2.0)型主板说明书:[1]
阅读量:137
技嘉GA-945PL-S3E型主板说明书:[3]
阅读量:67
技嘉GA-945PL-S3E型主板说明书:[4]
阅读量:107
技嘉GA-945PL-S3E型主板说明书:[8]
阅读量:109
技嘉主板bios升级教程
阅读量:163
猜你喜欢
boot是什么意思
角的大小和什么有关和什么无关
卡粉是什么意思
我的楼兰是什么意思
7月16日是什么星座
edge什么意思
送老师什么花
mba是什么学历
尿酸高是什么原因
月亮月亮你别睡是什么歌
猜你喜欢
baby什么意思
慢慢地什么
有机食品是什么意思
皂基是什么
哏是什么意思
持之以恒是什么意思
acc是什么意思
多元化是什么意思
一个日一个立念什么
学士学位是什么意思