指南生活
首页
美食营养
手工爱好
生活家居
返回
指南生活
首页
美食营养
游戏数码
手工爱好
生活家居
健康养生
运动户外
职场理财
情感交际
母婴教育
时尚美容
知识问答
生活知识
生活百科
搜索
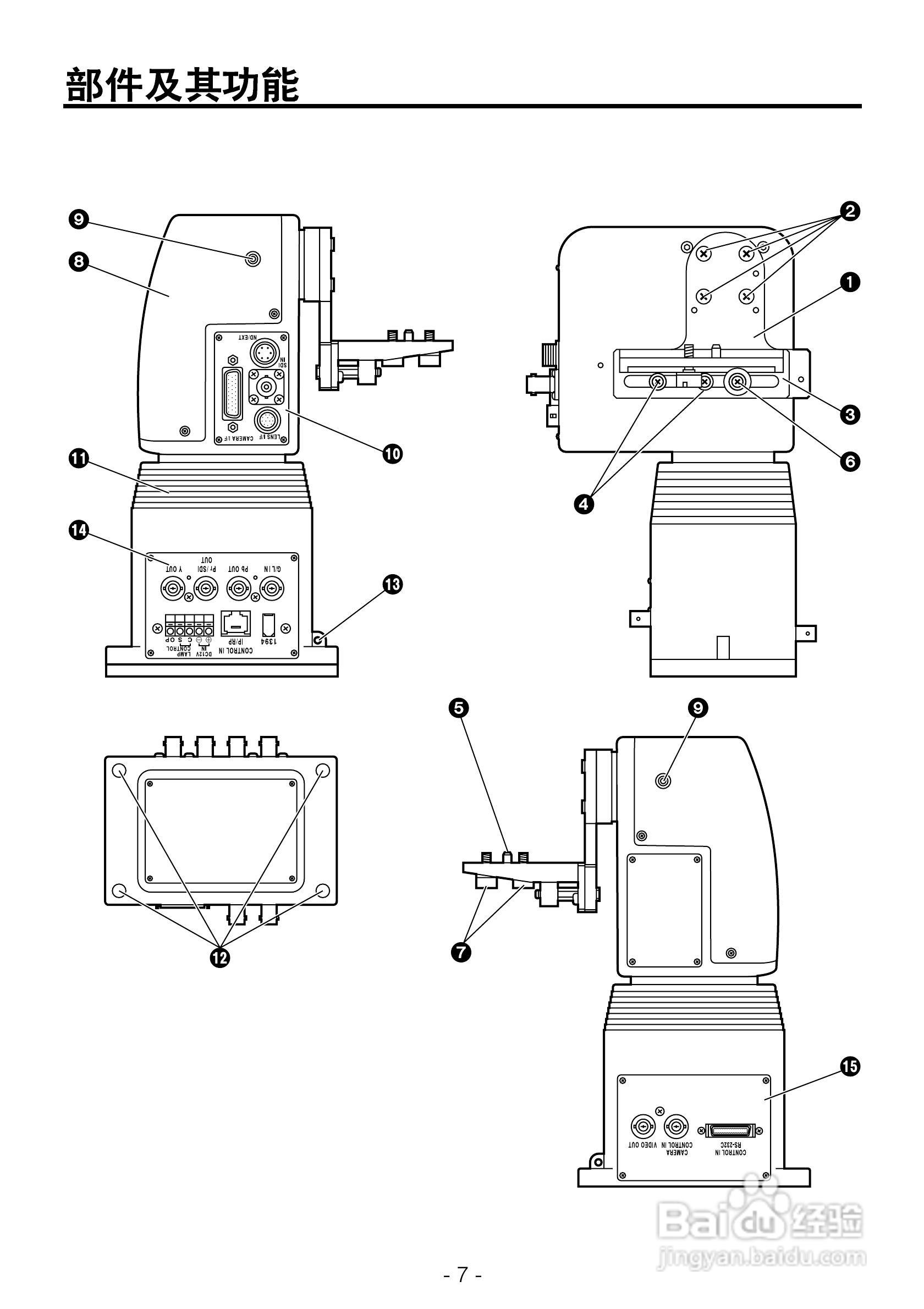
松下AW-PH360L室内旋转云台操作手册:[1]
2026-03-30 03:45:37
本篇为《松下AW-PH360L室内旋转云台操作手册》,主要介绍该产品的使用方法以及常见故障解决方案。
(共篇)
下一篇:
声明:
本网站引用、摘录或转载内容仅供网站访问者交流或参考,不代表本站立场,如存在版权或非法内容,请联系站长删除,联系邮箱:site.kefu@qq.com。
相关推荐
松下AW-PH360L室内旋转云台操作手册:[6]
阅读量:52
松下AW-PH360L室内旋转云台操作手册:[4]
阅读量:160
如何安装照相机云台
阅读量:77
飞宇G3云台怎么用
阅读量:196
三脚架云台是什么
阅读量:169
猜你喜欢
腊肉饭的做法
特长怎么写有哪些
鸡蛋面膜的做法和功效
畸胎瘤是怎么形成的
健康管理师怎么报名有什么条件
青萝卜的做法大全
鲜奶油的做法
猪蹄冻的做法
鸡杂的做法大全
红烧肉怎么做
猜你喜欢
海苔的做法
饭团做法
冬笋的做法
发糕的家庭的做法
蒸芹菜叶的做法
紫米粥的做法
罗非鱼怎么做好吃
高汤的做法
红烧排骨家常做法
爱奇艺自动续费怎么取消