指南生活
首页
美食营养
手工爱好
生活家居
返回
指南生活
首页
美食营养
游戏数码
手工爱好
生活家居
健康养生
运动户外
职场理财
情感交际
母婴教育
时尚美容
知识问答
生活知识
生活百科
搜索
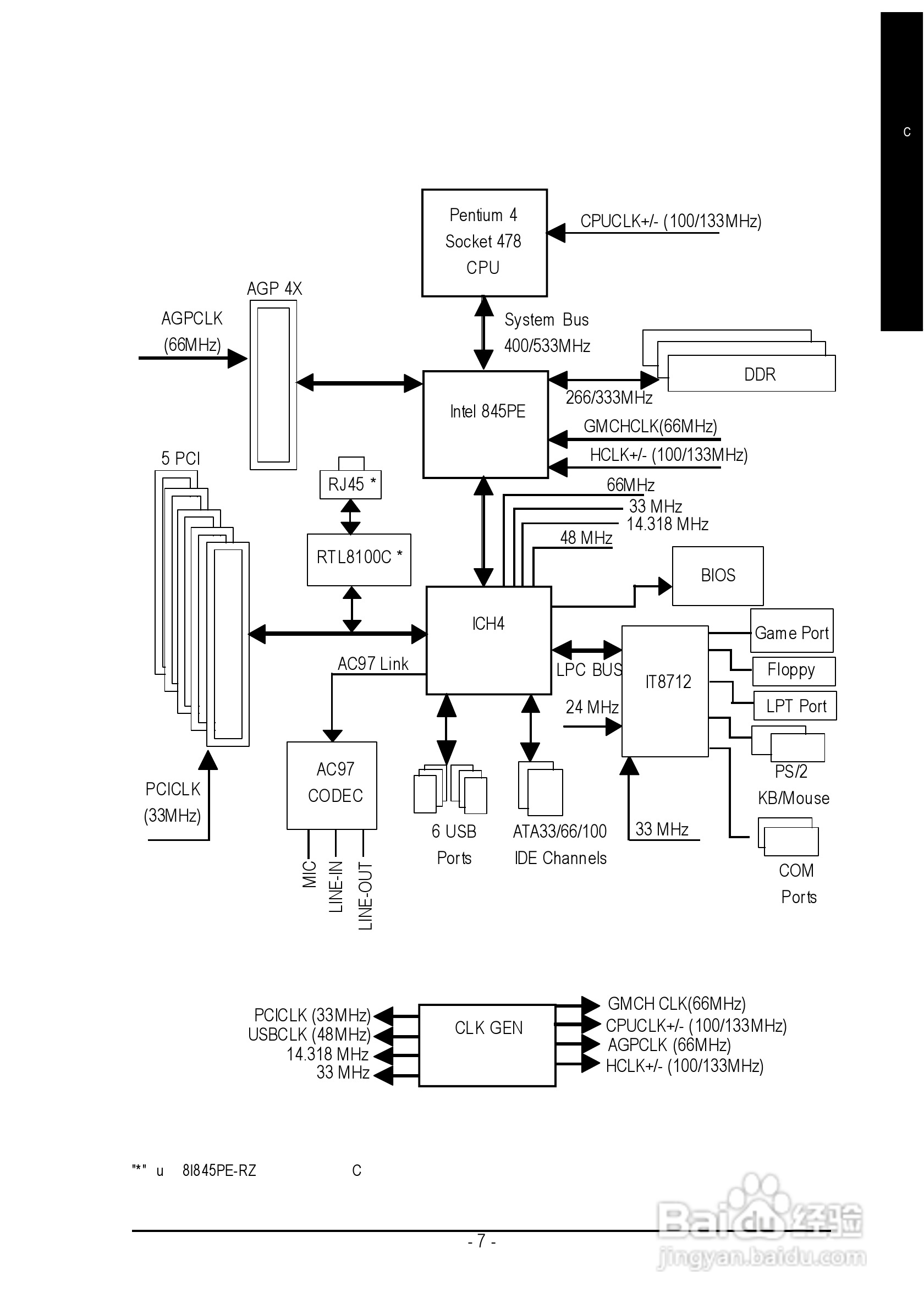
技嘉 8I845PE-RZ-C主板说明书:[1]
2026-05-15 23:01:17
本篇为《技嘉 8I845PE-RZ-C主板说明书》,主要介绍该产品的使用方法以及常见故障解决方案。
(共篇)
下一篇:
声明:
本网站引用、摘录或转载内容仅供网站访问者交流或参考,不代表本站立场,如存在版权或非法内容,请联系站长删除,联系邮箱:site.kefu@qq.com。
相关推荐
技嘉 8I845PE-RZ-C主板说明书:[3]
阅读量:137
技嘉 8I845GVM-RZ-C主板说明书:[1]
阅读量:27
技嘉 8S648-RZ-C主板说明书:[1]
阅读量:99
技嘉 GA-8I915ME-C主板说明书:[1]
阅读量:68
技嘉 8S661FXM-RZ主板说明书:[1]
阅读量:78
猜你喜欢
致100米运动员广播稿
茴香籽的功效与作用
秋梨膏的功效与作用
蛇蜕的功效与作用
红葡萄酒的功效与作用
炒股入门知识
女生大专学什么专业好
beer什么意思
什么是行政法规
女人的胸部长什么样
猜你喜欢
什么是电子书
八上物理知识点
山药豆的功效与作用
三叶草运动鞋
社保有什么好处
白茅根的作用与功效
初二物理上册知识点
黄豆的功效与作用
北豆根的功效与作用
普洱茶的功效与作用