指南生活
首页
美食营养
手工爱好
生活家居
返回
指南生活
首页
美食营养
游戏数码
手工爱好
生活家居
健康养生
运动户外
职场理财
情感交际
母婴教育
时尚美容
知识问答
搜索
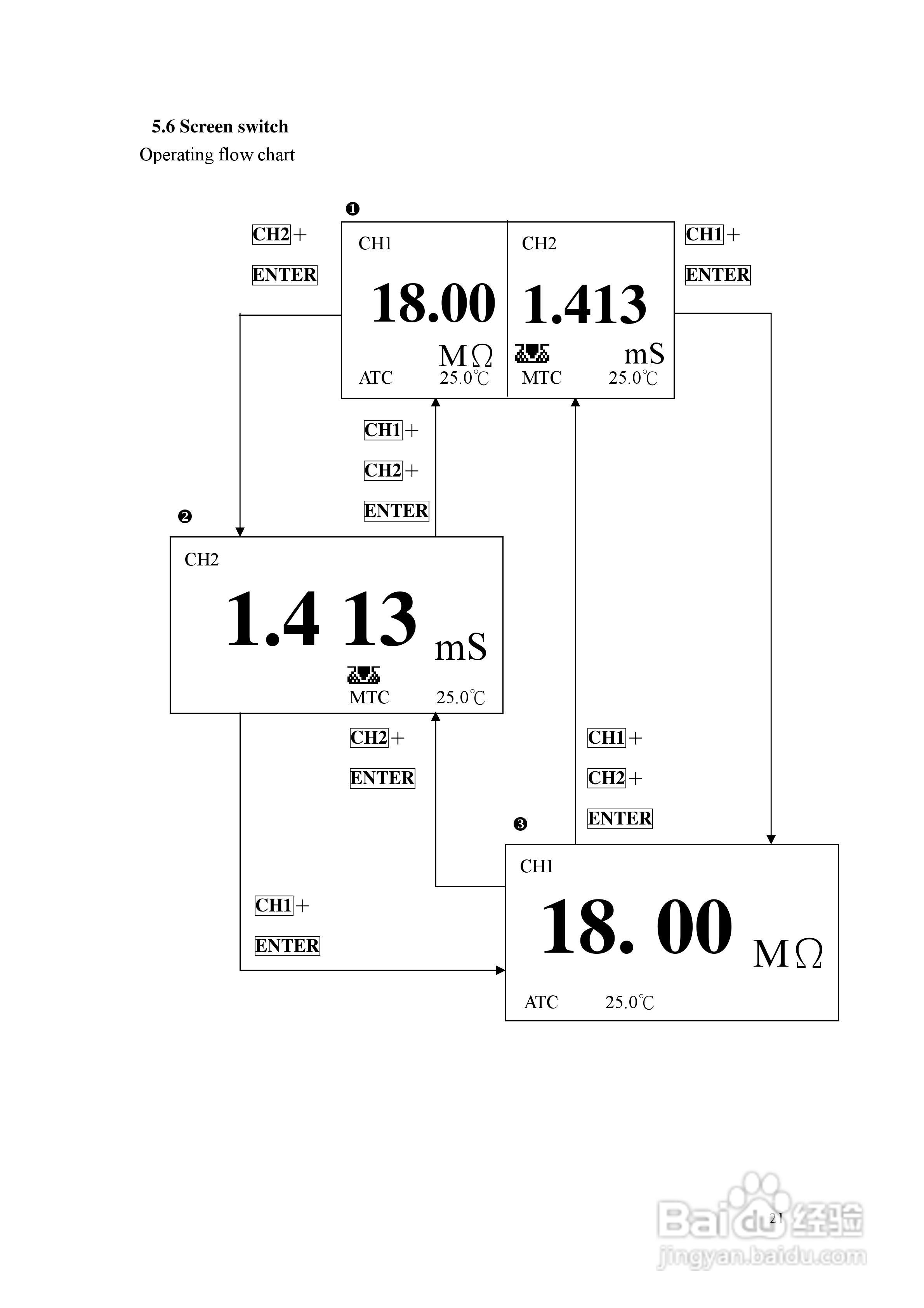
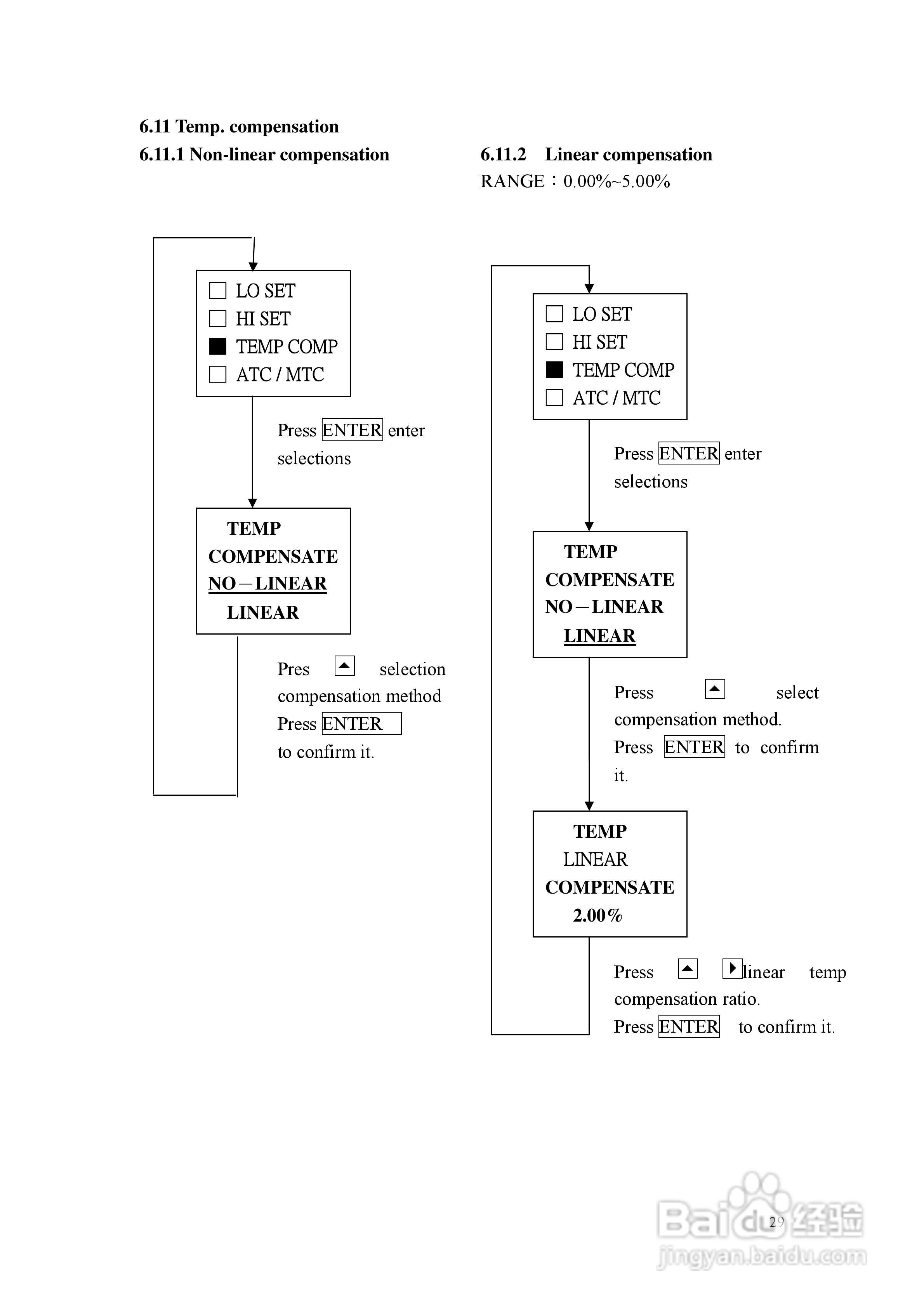
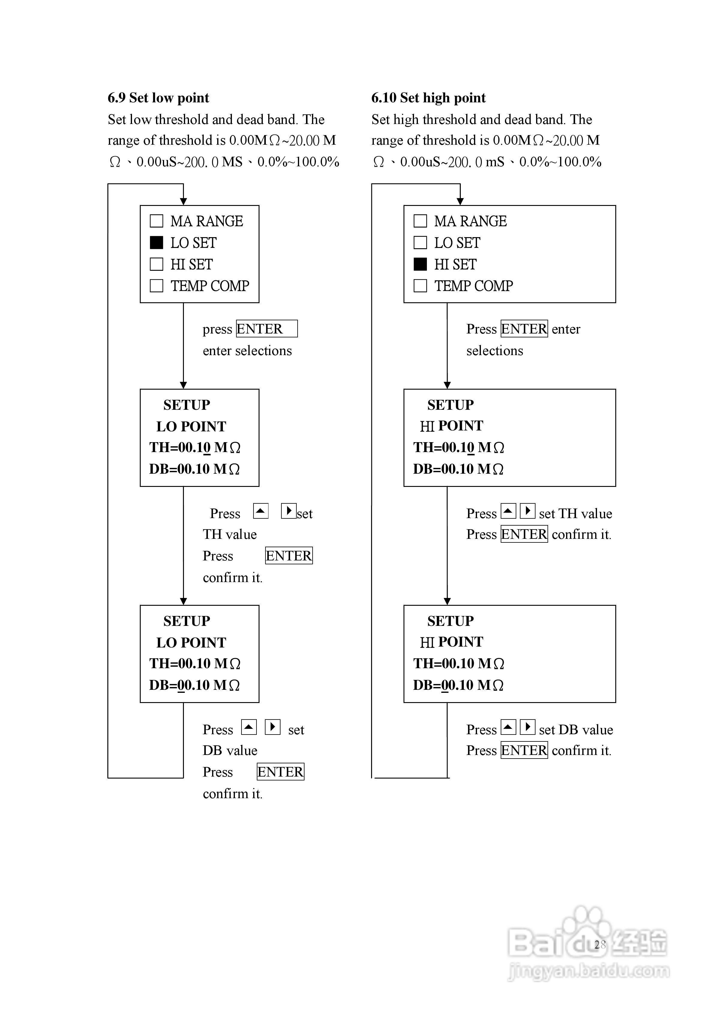
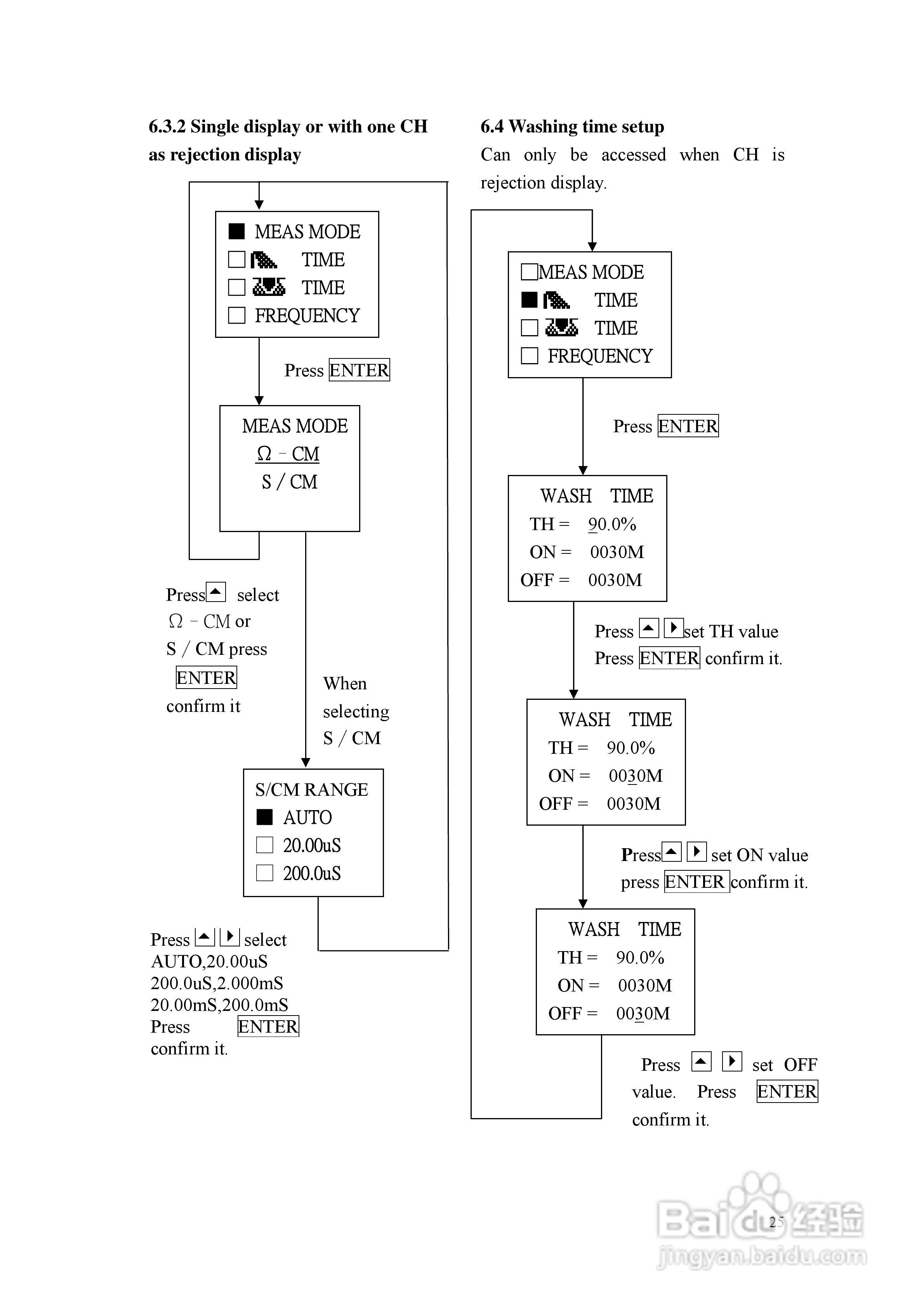
上泰EC4200双通道电导率电阻率控制器操作手册:[3]
2025-11-16 18:16:12
本篇为《上泰EC4200双通道电导率电阻率控制器操作手册》,主要介绍该产品的使用方法以及常见故障解决方案。
(共篇)
上一篇:
声明:
本网站引用、摘录或转载内容仅供网站访问者交流或参考,不代表本站立场,如存在版权或非法内容,请联系站长删除,联系邮箱:site.kefu@qq.com。
相关推荐
上泰EC4110智能型电导率电阻率控制器操作手册:[2]
阅读量:31
上泰EC4110智能型电导率电阻率控制器操作手册:[1]
阅读量:151
上泰EC410/430微电脑电导率电阻率监控器操作手册:[1]
阅读量:161
控制器暂停功能的实现步骤
阅读量:190
如何查看内存是否双通道
阅读量:89
猜你喜欢
bed是什么意思
蛋白粉什么时候吃最好
future是什么意思
apec是什么组织
脚气用什么药
mds是什么病
丹桂飘香是什么季节
喜欢和爱有什么区别
增值税是什么意思
孕妇脚肿是什么原因
猜你喜欢
洛天依吸毒是什么梗
道不同不相为谋什么意思
备注是什么意思
耽改剧是什么意思
收悉是什么意思
割礼是什么
冬虫夏草有什么功效
精子是什么
忒是什么意思
肾结石什么东西不能吃