指南生活
首页
美食营养
手工爱好
生活家居
返回
指南生活
首页
美食营养
游戏数码
手工爱好
生活家居
健康养生
运动户外
职场理财
情感交际
母婴教育
时尚美容
知识问答
搜索
上泰EC4200双通道电导率电阻率控制器操作手册:[2]
2025-11-16 16:30:53
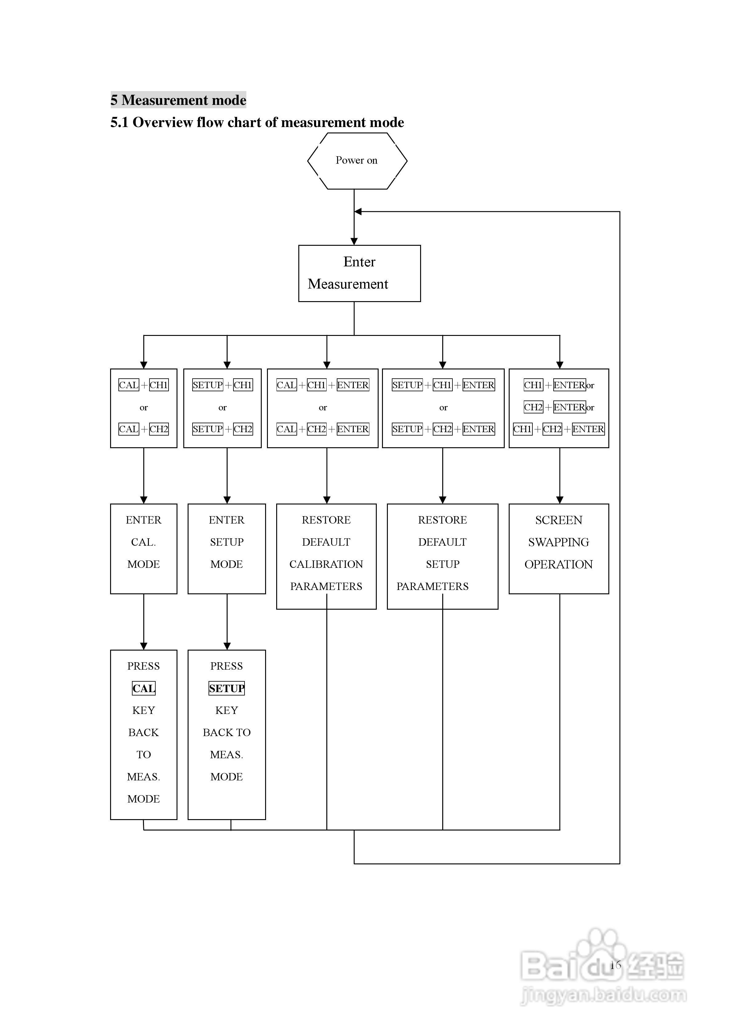
本篇为《上泰EC4200双通道电导率电阻率控制器操作手册》,主要介绍该产品的使用方法以及常见故障解决方案。
(共篇)
上一篇:
|
下一篇:
声明:
本网站引用、摘录或转载内容仅供网站访问者交流或参考,不代表本站立场,如存在版权或非法内容,请联系站长删除,联系邮箱:site.kefu@qq.com。
相关推荐
上泰EC4110智能型电导率电阻率控制器操作手册:[2]
阅读量:165
上泰EC4110智能型电导率电阻率控制器操作手册:[4]
阅读量:164
上泰EC410/430微电脑电导率电阻率监控器操作手册:[2]
阅读量:177
控制器暂停功能的实现步骤
阅读量:167
如何查看内存是否双通道
阅读量:117
猜你喜欢
日立中央空调怎么样
发面馒头怎么做又软又香
心脏早搏是怎么回事
建筑密度怎么算
铁皮石斛怎么吃最好
风衣怎么打蝴蝶结
邮箱地址怎么写
长城宽带怎么样
违章停车怎么处罚
腱鞘囊肿怎么治疗
猜你喜欢
我的世界怎么驯服猫
哈弗h6怎么样
附件囊肿是怎么形成的
either怎么读
乌冬面怎么做好吃
苦菊怎么凉拌好吃
甲油胶怎么卸
银行卡的钱怎么转到支付宝
mate怎么读
脑梗怎么治疗最好