指南生活
首页
美食营养
手工爱好
生活家居
返回
指南生活
首页
美食营养
游戏数码
手工爱好
生活家居
健康养生
运动户外
职场理财
情感交际
母婴教育
时尚美容
知识问答
生活知识
生活百科
搜索
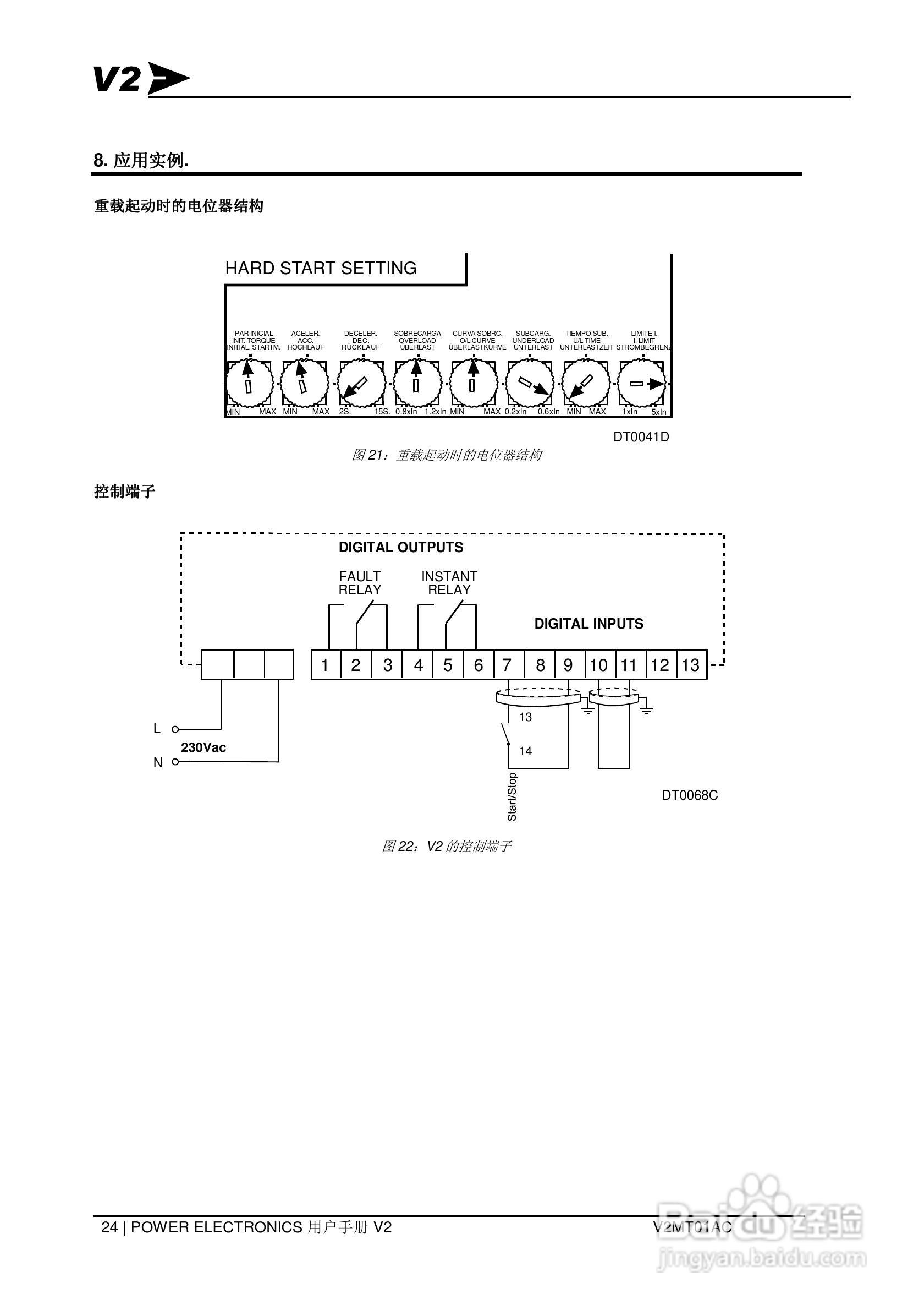
V2075B数字软启动器用户手册:[3]
2026-05-15 04:10:18
本篇为《V2075B数字软启动器用户手册》,主要介绍该产品的使用方法以及常见故障解决方案。
(共篇)
上一篇:
声明:
本网站引用、摘录或转载内容仅供网站访问者交流或参考,不代表本站立场,如存在版权或非法内容,请联系站长删除,联系邮箱:site.kefu@qq.com。
相关推荐
V2075B数字软启动器用户手册:[2]
阅读量:33
数字软启动器V5IM01AC用户手册:[3]
阅读量:57
CGR2000系列软启动器用户手册:[3]
阅读量:176
施耐德ATS48M12Q软启动器用户手册:[3]
阅读量:68
施耐德ATS46M12N软启动器用户手册:[3]
阅读量:108
猜你喜欢
出生入死的意思
rgb是什么意思
高考祝福语 八个字
天时地利人和是什么意思
祖国永远祝福你
什么牌子的polo衫好
妇检都检查什么
老师的祝福语
升学宴祝福语
梦到自己怀孕了是什么意思
猜你喜欢
精兵简政简的意思
结婚祝福语8个字
recycle是什么意思
病人祝福语
天津验车需要带什么
哀鸿遍野的意思
好朋友的祝福
玫红配什么颜色好看
有恃无恐是什么意思
college是什么意思