指南生活
首页
美食营养
手工爱好
生活家居
返回
指南生活
首页
美食营养
游戏数码
手工爱好
生活家居
健康养生
运动户外
职场理财
情感交际
母婴教育
时尚美容
知识问答
生活知识
搜索
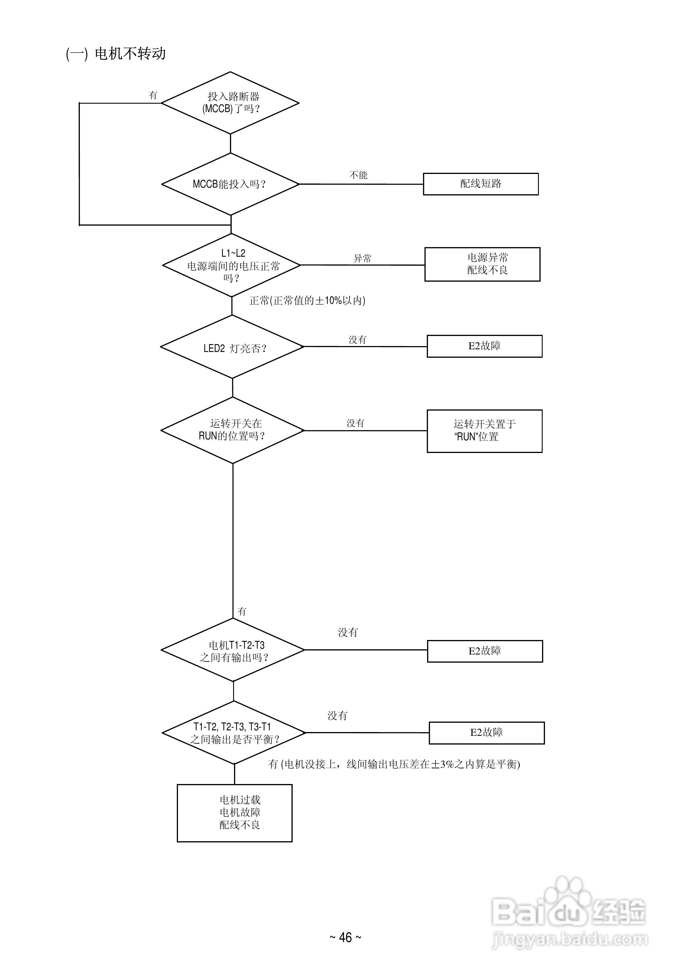
变频器E2-201-M1F使用手册:[5]
2026-03-19 23:28:45
本篇为《变频器E2-201-M1F使用手册》,主要介绍该产品的使用方法以及常见故障解决方案。
(共篇)
上一篇:
|
下一篇:
声明:
本网站引用、摘录或转载内容仅供网站访问者交流或参考,不代表本站立场,如存在版权或非法内容,请联系站长删除,联系邮箱:site.kefu@qq.com。
相关推荐
变频器E2-201-M1F使用手册:[2]
阅读量:40
变频器E2-201-M1F使用手册:[4]
阅读量:59
FATEK FID-E2-425-43变频器使用手册:[12]
阅读量:62
变频器调试接线教程
阅读量:98
变频器怎么恢复出厂设置
阅读量:51
猜你喜欢
凤凰古城怎么去
发音方法
节食减肥的最好方法
怎么做好ppt
鱼汤怎么做好吃
舌头上有白色的舌苔是怎么回事
电脑怎么用蓝牙耳机
三明治的做法家常做法
大锅菜怎么做好吃
痘印怎么办
猜你喜欢
dnf卡片怎么用
卵巢囊肿的治疗方法
胃热口臭的治疗方法
蔬菜保鲜方法
治疗感冒
孩子叛逆家长怎么办
琥珀的鉴定方法
左胸痛是怎么回事
怎样炖牛肉又烂又好吃
女装品牌大全排行榜