指南生活
首页
美食营养
手工爱好
生活家居
返回
指南生活
首页
美食营养
游戏数码
手工爱好
生活家居
健康养生
运动户外
职场理财
情感交际
母婴教育
时尚美容
知识问答
生活知识
生活百科
搜索
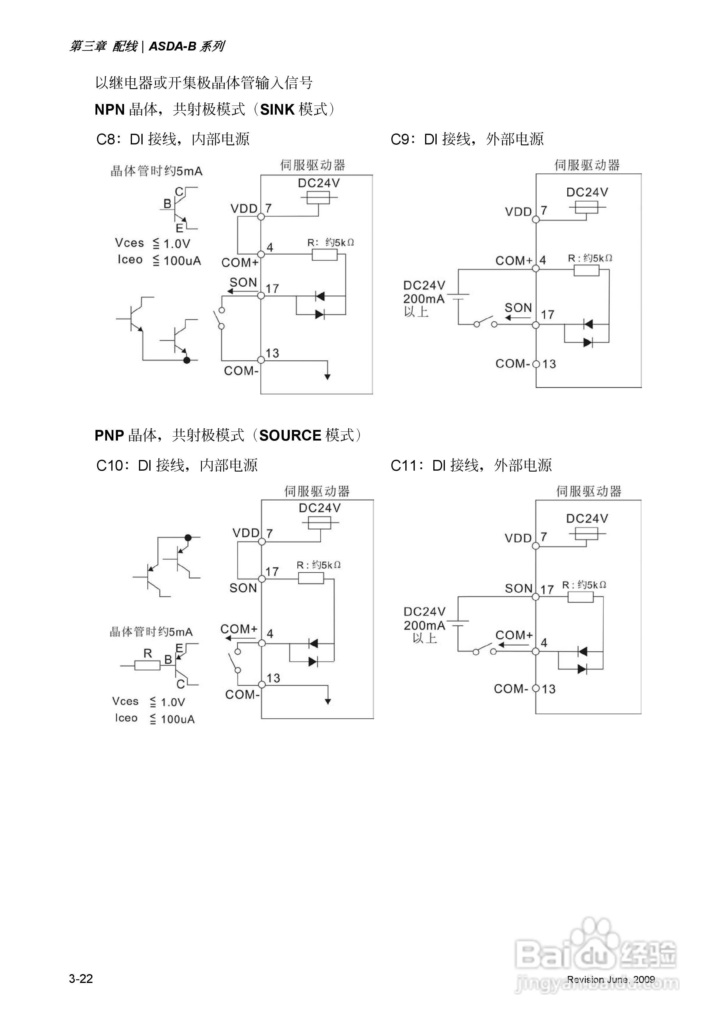
台达ASDA-B伺服驱动器使用手冊:[5]
2026-04-16 04:14:22
本篇为《台达ASDA-B伺服驱动器使用手冊》,主要介绍该产品的使用方法以及常见故障解决方案。
(共篇)
上一篇:
|
下一篇:
声明:
本网站引用、摘录或转载内容仅供网站访问者交流或参考,不代表本站立场,如存在版权或非法内容,请联系站长删除,联系邮箱:site.kefu@qq.com。
相关推荐
台达ASDA-B2伺服驱动器使用手冊:[5]
阅读量:193
台达ASDA-A2伺服驱动器使用手冊:[5]
阅读量:152
台达ASDA-A伺服驱动器使用手冊:[1]
阅读量:88
台达ASDA-A2伺服驱动器使用手冊:[6]
阅读量:69
伺服驱动器速度怎么计算
阅读量:89
猜你喜欢
蓝颜是什么意思
期房是什么意思
什么杀毒软件好
412是什么意思
什么是萨德系统
什么叫抗氧化
发膜有什么用
眉飞色舞的意思
尾翼的作用
猝死是什么意思
猜你喜欢
挑衅的意思
什么是信托公司
苍劲的意思
桂花的作用
crayon是什么意思
养老保险和社保有什么区别
eraser是什么意思
鱼鳔的作用
supreme是什么意思
刚正不阿什么意思