指南生活
首页
美食营养
手工爱好
生活家居
返回
指南生活
首页
美食营养
游戏数码
手工爱好
生活家居
健康养生
运动户外
职场理财
情感交际
母婴教育
时尚美容
知识问答
生活知识
生活百科
搜索
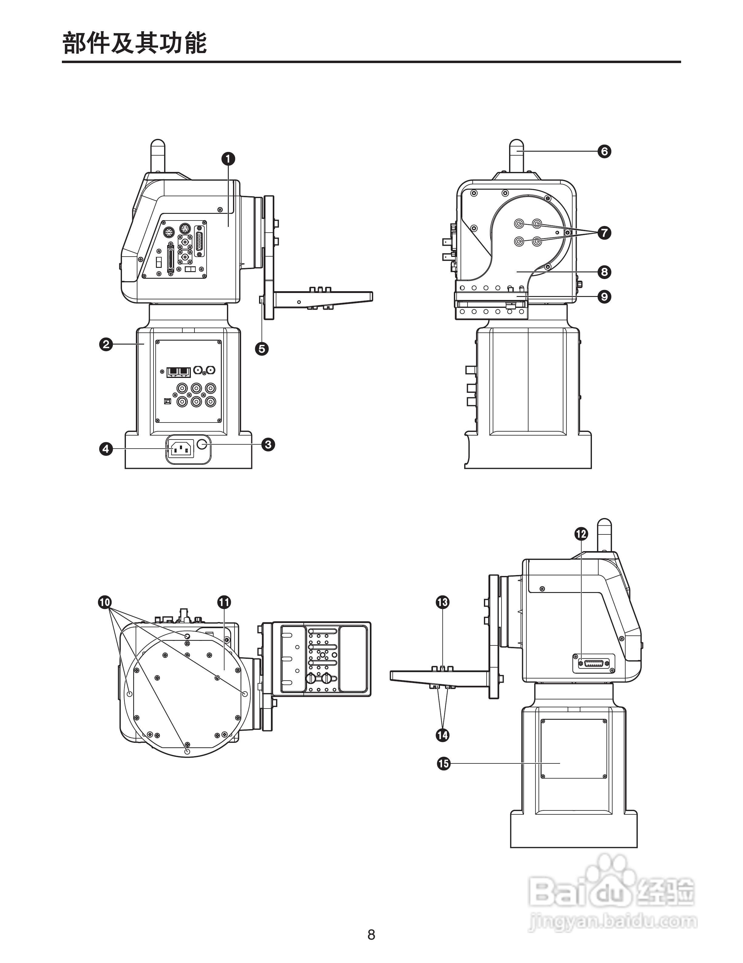
松下 AW-PH405MC室内旋转云台操作手册:[1]
2026-05-13 21:35:13
本篇为《松下 AW-PH405MC室内旋转云台操作手册》,主要介绍该产品的使用方法以及常见故障解决方案。
(共篇)
下一篇:
声明:
本网站引用、摘录或转载内容仅供网站访问者交流或参考,不代表本站立场,如存在版权或非法内容,请联系站长删除,联系邮箱:site.kefu@qq.com。
相关推荐
松下 AW-PH405MC室内旋转云台操作手册:[3]
阅读量:178
奇迹MU觉醒如何添加好友
阅读量:173
神之幻地1.10初级装备合成升级方法
阅读量:21
魔力宝贝手游宠物怎么升级
阅读量:178
帝国OL刀侠攻略
阅读量:104
猜你喜欢
邮箱的格式怎么写
苦瓜怎么吃减肥
dnf鬼剑士时装搭配
校园新闻稿怎么写
德军总部新秩序攻略
减肥攻略
女人气血虚怎么调理
毕加索简介
暗黑破坏神3攻略
电话销售怎么样
猜你喜欢
天龙八部令牌怎么获得
社区简介
火炬之光攻略
拥挤的用英语怎么说
单向好友怎么看
宁波普陀山旅游攻略
宝宝不吃奶怎么办
冬季短裤搭配
北汽威旺m30怎么样
南京林业大学怎么样