指南生活
首页
美食营养
手工爱好
生活家居
返回
指南生活
首页
美食营养
游戏数码
手工爱好
生活家居
健康养生
运动户外
职场理财
情感交际
母婴教育
时尚美容
知识问答
生活知识
生活百科
搜索
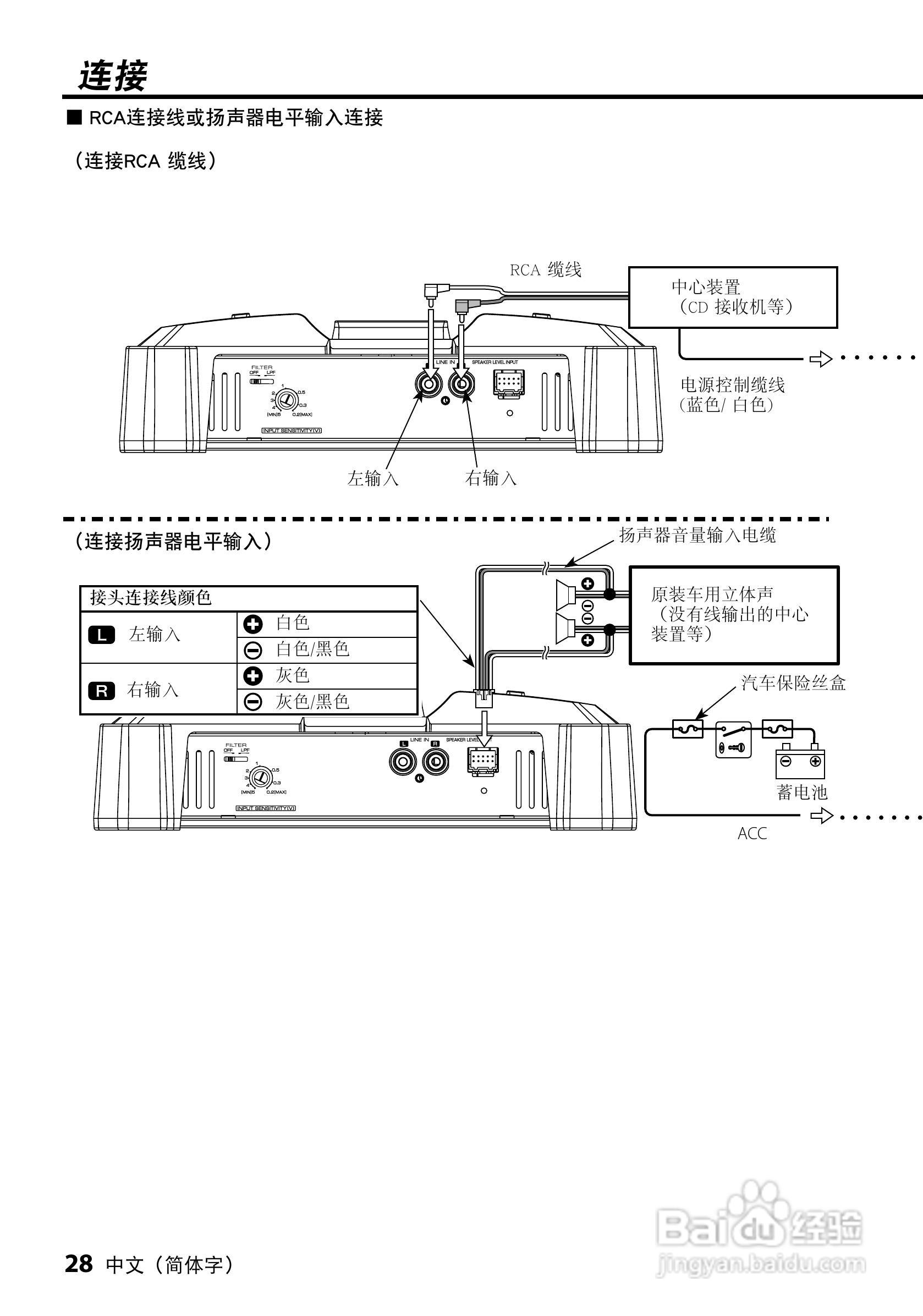
KENWOOD KAC-5203放大器说明书:[3]
2026-05-07 14:20:12
本篇为《KENWOOD KAC-5203放大器说明书》,主要介绍该产品的使用方法以及常见故障解决方案。
(共篇)
上一篇:
|
下一篇:
声明:
本网站引用、摘录或转载内容仅供网站访问者交流或参考,不代表本站立场,如存在版权或非法内容,请联系站长删除,联系邮箱:site.kefu@qq.com。
相关推荐
路边停车入位的小技巧
阅读量:170
拖拉机倒车技巧视频
阅读量:191
如何选择车载打气泵?
阅读量:119
大车挂档技巧?
阅读量:37
冬季冰雪路面车辆下坡注意事项
阅读量:28
猜你喜欢
857是什么意思
如何制作u盘启动盘
皈依是什么意思
生活故事
生活家居
脸被指甲抓伤怎么办
如何给照片换背景
经痛怎么办
楼房公摊面积怎么算
cf老掉线怎么回事
猜你喜欢
热闹的反义词是什么
写网络小说怎么赚钱
鲜花如何保鲜
微信红包怎么用
them是什么意思
高血压肾病如何治疗
ps中图层蒙版怎么用
如何过好大学生活
大熊猫生活在哪里
益盟操盘手怎么样