指南生活
首页
美食营养
手工爱好
生活家居
返回
指南生活
首页
美食营养
游戏数码
手工爱好
生活家居
健康养生
运动户外
职场理财
情感交际
母婴教育
时尚美容
知识问答
生活知识
生活百科
搜索
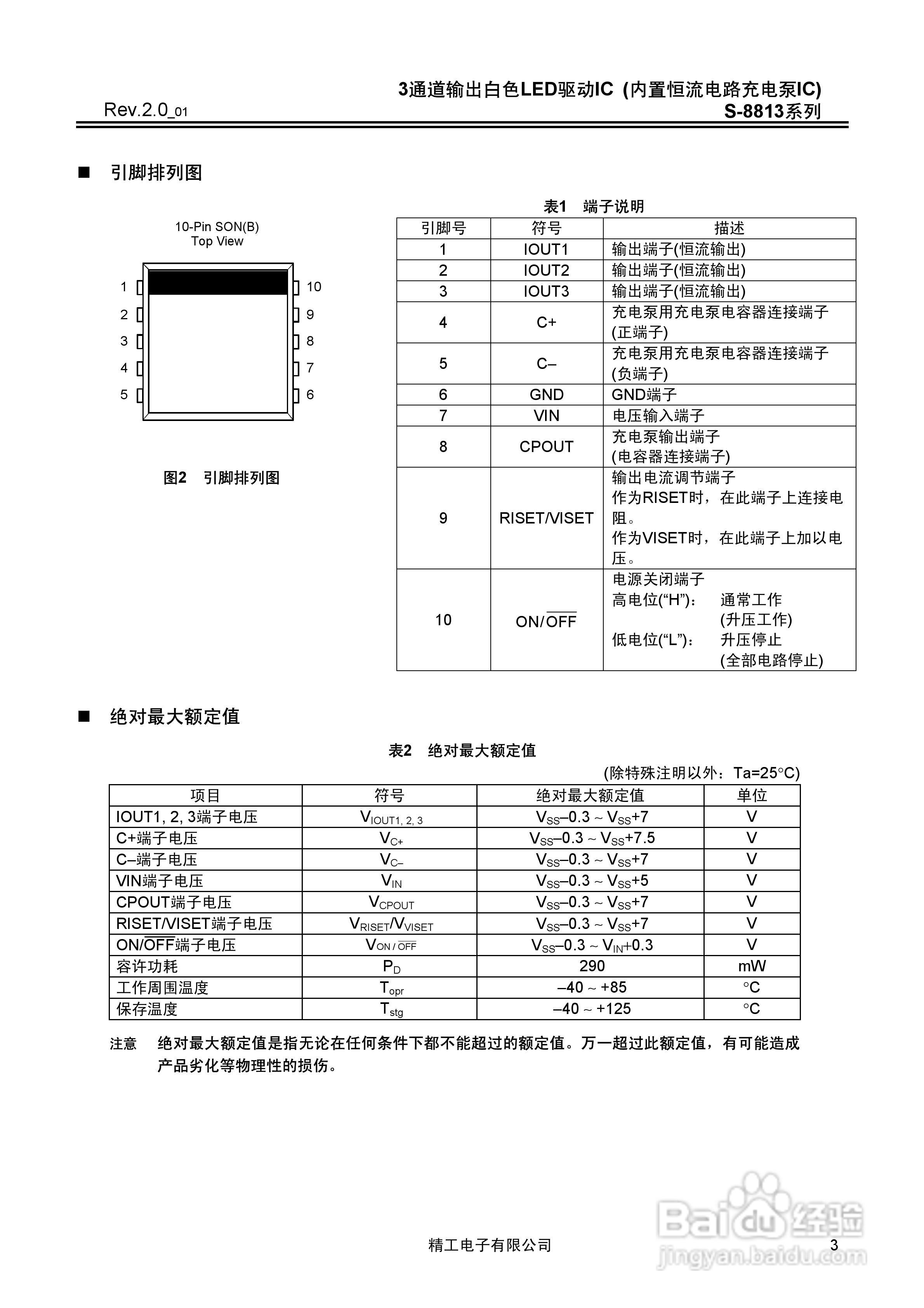
精工S-8813系列DC-DC转换器说明书:[1]
2026-03-29 14:26:26
本篇为《精工S-8813系列DC-DC转换器说明书》,主要介绍该产品的使用方法以及常见故障解决方案。
(共篇)
下一篇:
声明:
本网站引用、摘录或转载内容仅供网站访问者交流或参考,不代表本站立场,如存在版权或非法内容,请联系站长删除,联系邮箱:site.kefu@qq.com。
相关推荐
精工S-8813系列DC-DC转换器说明书:[2]
阅读量:113
精工S-8333系列DC-DC控制器说明书:[1]
阅读量:44
精工S-8333系列DC-DC控制器说明书:[3]
阅读量:40
精工S-8333系列DC-DC控制器说明书:[2]
阅读量:29
精工电S-8540/8541系列DC/DC控制器说明书:[3]
阅读量:43
猜你喜欢
无辜的意思
无间道是什么意思
看病人送什么好
100元能买什么
扑朔迷离是什么意思
角膜炎什么症状
本科一批二批是什么意思
欢乐颂2什么时候播出
shit是什么意思
q2是什么意思
猜你喜欢
小样什么意思
奖品买什么好
闻过则喜的意思
读什么专业好
风趣的意思
粑粑是什么意思
lead是什么意思
什么叫微博
先天下之忧而忧 后天下之乐而乐的意思
双鱼座女生喜欢什么样的男生