指南生活
首页
美食营养
手工爱好
生活家居
返回
指南生活
首页
美食营养
游戏数码
手工爱好
生活家居
健康养生
运动户外
职场理财
情感交际
母婴教育
时尚美容
知识问答
生活知识
生活百科
搜索
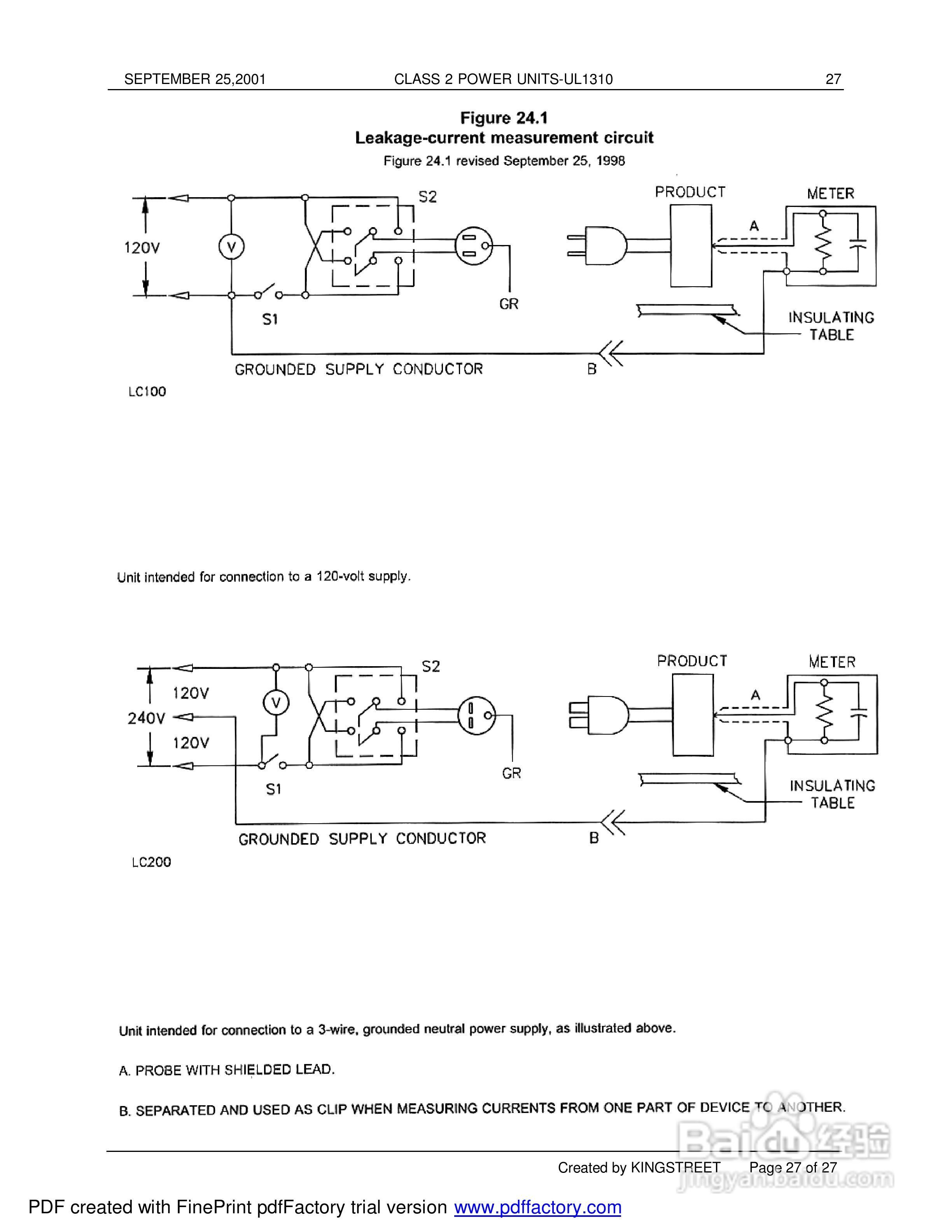
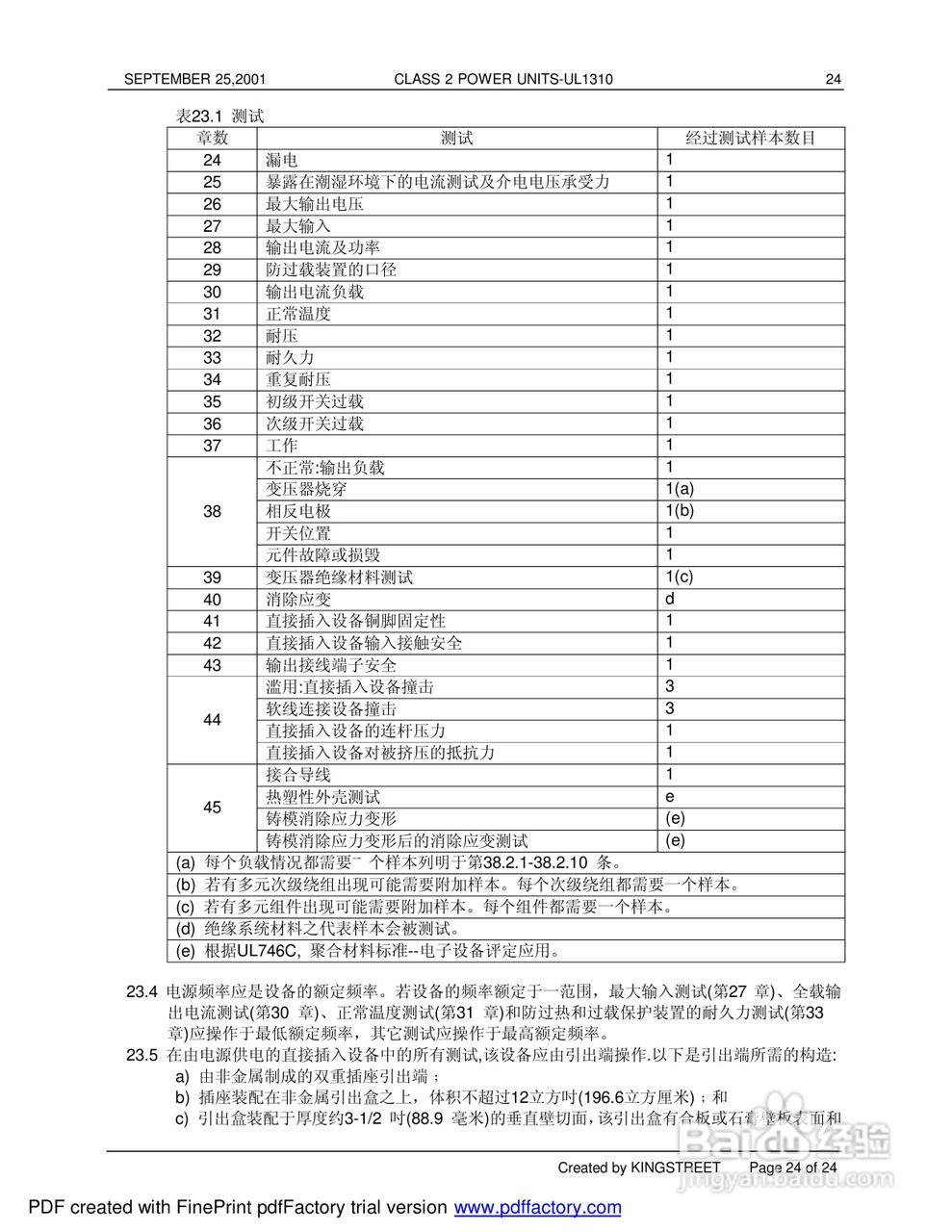
UL1310 ISB1-55989-589-6电源设备说明书:[3]
2026-04-24 06:43:02
本篇为《UL1310 ISB1-55989-589-6电源设备说明书》,主要介绍该产品的使用方法以及常见故障解决方案。
(共篇)
上一篇:
|
下一篇:
声明:
本网站引用、摘录或转载内容仅供网站访问者交流或参考,不代表本站立场,如存在版权或非法内容,请联系站长删除,联系邮箱:site.kefu@qq.com。
相关推荐
美国UL认证怎么办理多少钱
阅读量:161
留学学堂:[589]美国留学改善生活方式
阅读量:137
如何用列表ul和li制作表格技巧
阅读量:91
如何获取多个ul的第一个ul标签以及ul的第n个li
阅读量:158
html列表ul的type属性
阅读量:24
猜你喜欢
皮肌炎最佳治疗方法
word怎么调整行距
鸡肉的做法大全家常菜
雷诺手表怎么样
做面包的方法
正确的洗脸方法
怎样煮牛肉好吃
斯柯达昕锐怎么样
炒莲藕怎么做好吃
维c银翘片怎么样
猜你喜欢
炸薯条的家常做法
家常菜的做法大全家常炒菜
游标卡尺的读数方法
我的世界图片大全
顶楼隔热最好的方法
腌辣椒的做法大全
寻常疣最佳治疗方法
招聘启事怎么写
炒土豆丝的家常做法
智能手机大全