指南生活
首页
美食营养
手工爱好
生活家居
返回
指南生活
首页
美食营养
游戏数码
手工爱好
生活家居
健康养生
运动户外
职场理财
情感交际
母婴教育
时尚美容
知识问答
生活知识
生活百科
搜索
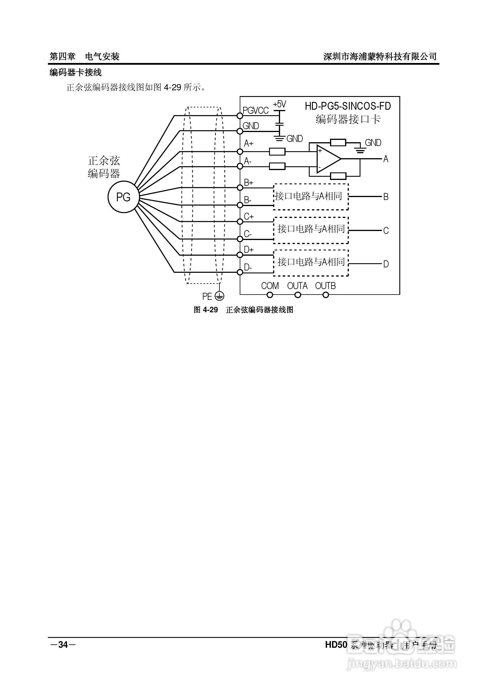
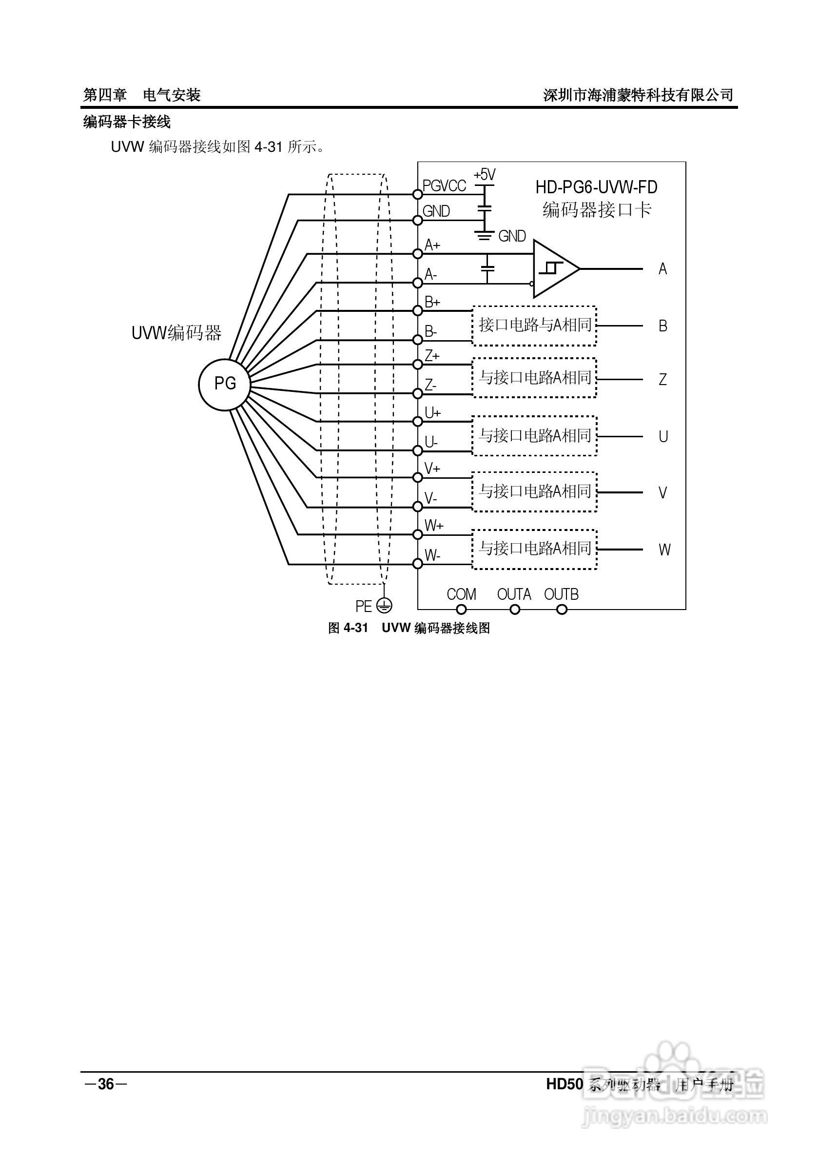
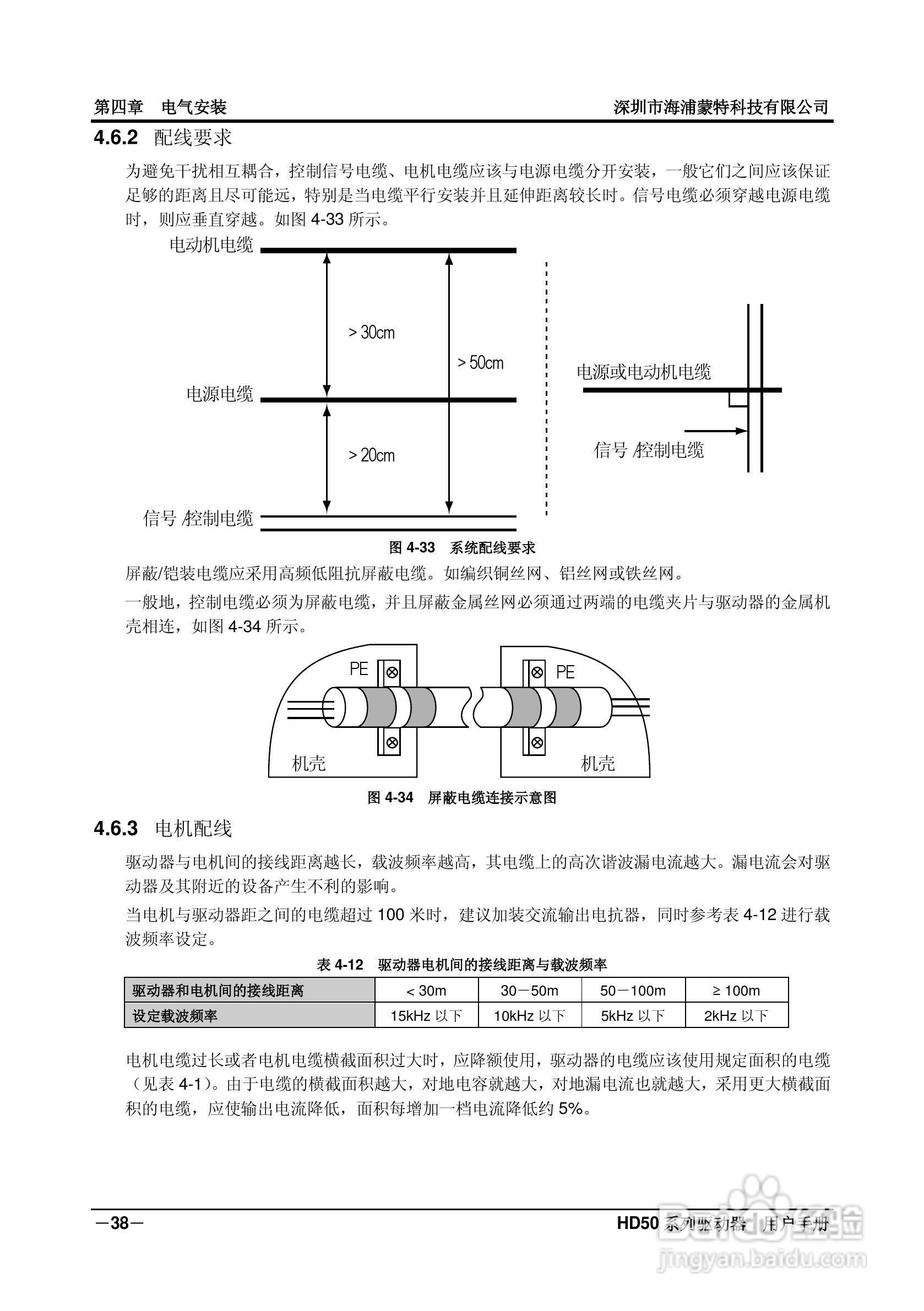
海浦蒙特HD50-6T400G高性能矢量控制驱动器用户手册:[5]
2026-03-24 14:35:49
本篇为《海浦蒙特HD50-6T400G高性能矢量控制驱动器用户手册》,主要介绍该产品的使用方法以及常见故障解决方案。
(共篇)
上一篇:
|
下一篇:
声明:
本网站引用、摘录或转载内容仅供网站访问者交流或参考,不代表本站立场,如存在版权或非法内容,请联系站长删除,联系邮箱:site.kefu@qq.com。
相关推荐
海浦蒙特HD50-6T400G高性能矢量控制驱动器用户手册:[17]
阅读量:167
海浦蒙特HD50-6T400G高性能矢量控制驱动器用户手册:[16]
阅读量:169
高性能枪式植筋胶
阅读量:28
高性能流媒体解决方案公司
阅读量:151
高性能耐腐蚀磁力泵的优缺点分析
阅读量:191
猜你喜欢
光棍节是什么意思
代沟是什么
米聊是什么
四大皆空是什么意思
盆栽茉莉的养殖方法和注意事项
脑震荡有什么后遗症
送老师什么礼物合适
运动会宣传稿200字
辣台妹是什么意思
国字脸男生适合什么发型
猜你喜欢
火把节是什么节日
什么是抗氧化
belong是什么意思
厦门有什么好玩的
tgp是什么
巡视员是什么级别
运动会广播稿格式
缓刑是什么
鬼子姜的腌制方法
赤子之心什么意思