指南生活
首页
美食营养
手工爱好
生活家居
返回
指南生活
首页
美食营养
游戏数码
手工爱好
生活家居
健康养生
运动户外
职场理财
情感交际
母婴教育
时尚美容
知识问答
生活知识
生活百科
搜索
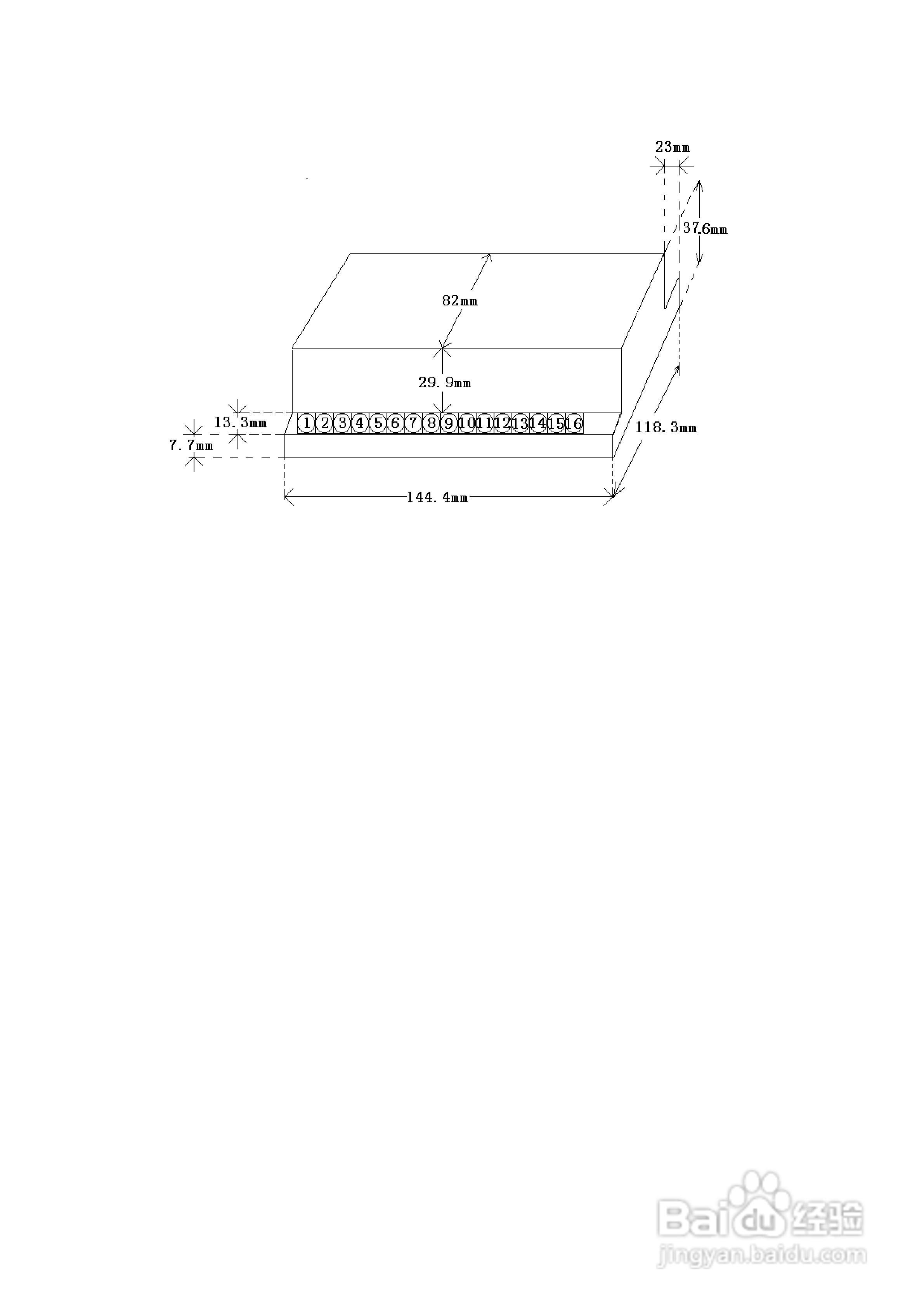
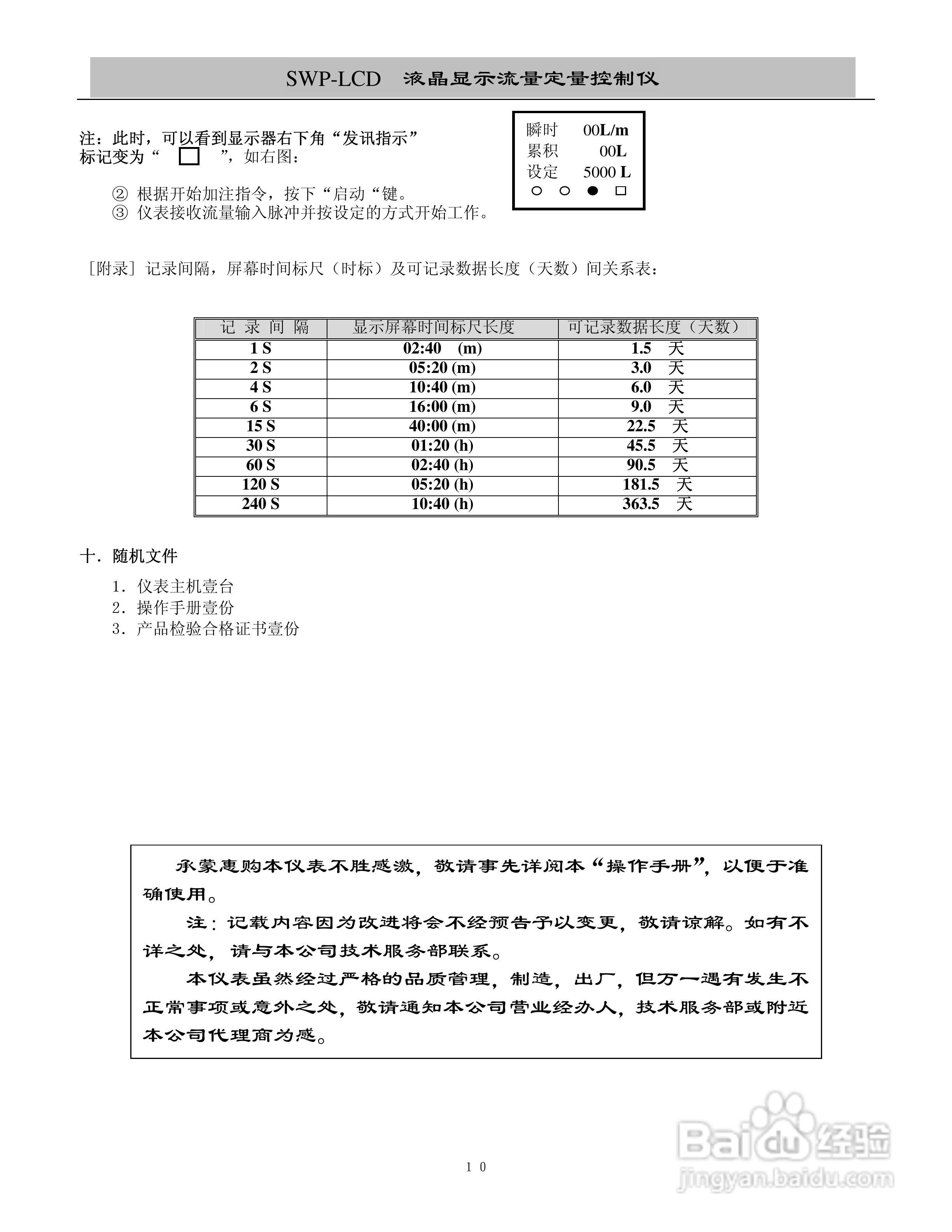
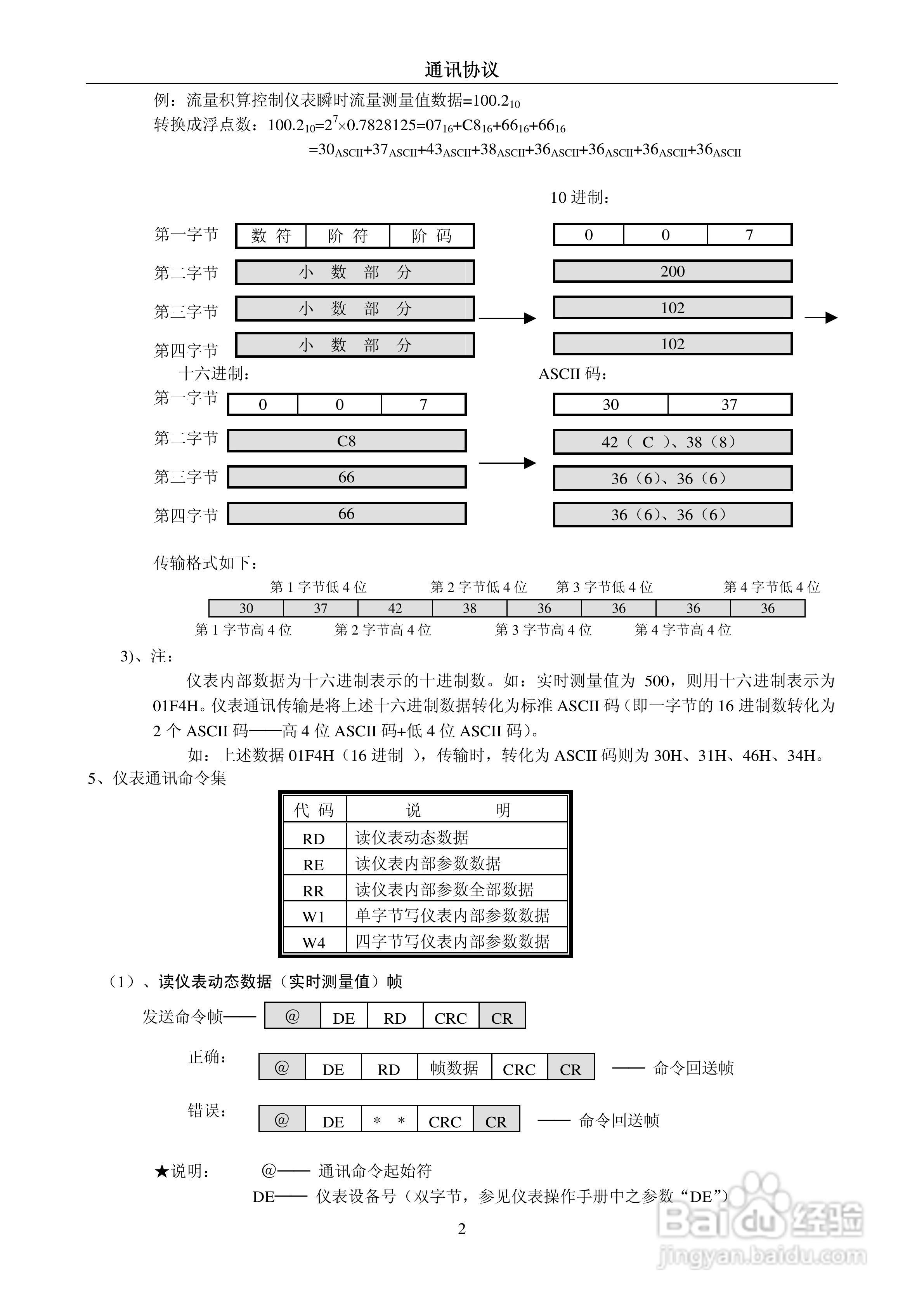
昌晖LCD867流量定量控制仪说明书:[2]
2026-03-29 09:06:06
本篇为《昌晖LCD867流量定量控制仪说明书》,主要介绍该产品的使用方法以及常见故障解决方案。
(共篇)
上一篇:
|
下一篇:
声明:
本网站引用、摘录或转载内容仅供网站访问者交流或参考,不代表本站立场,如存在版权或非法内容,请联系站长删除,联系邮箱:site.kefu@qq.com。
相关推荐
昌晖LCD867流量定量控制仪说明书:[1]
阅读量:158
昌晖LCD-M大屏幕多路仪表说明书:[2]
阅读量:136
昌晖LCD-QR 智能化防盗型热量积算仪说明书:[2]
阅读量:39
昌晖SWP-LCD-LR流量记录仪(带防盗)说明书:[2]
阅读量:105
昌晖SWP-LCD-LR流量记录仪(带防盗)说明书:[3]
阅读量:177
猜你喜欢
戏答的意思
破绽是什么意思
spoon是什么意思
想入非非的意思
淡然的意思
哀鸿遍野的意思
pm是什么意思的缩写
怒目圆睁的意思
对峙是什么意思
wisdom是什么意思
猜你喜欢
司法证有什么用
气溶胶传播是什么意思
千山万壑的意思
今年两会什么时候开
自考成绩什么时候出来
什么走龙蛇
石象湖什么时候去最好
tourist是什么意思
民法典是什么意思
繁文缛节的意思