指南生活
首页
美食营养
手工爱好
生活家居
返回
指南生活
首页
美食营养
游戏数码
手工爱好
生活家居
健康养生
运动户外
职场理财
情感交际
母婴教育
时尚美容
知识问答
生活知识
搜索
FATEK FID-E1-004-23变频器使用说明书:[2]
2026-03-17 07:19:26
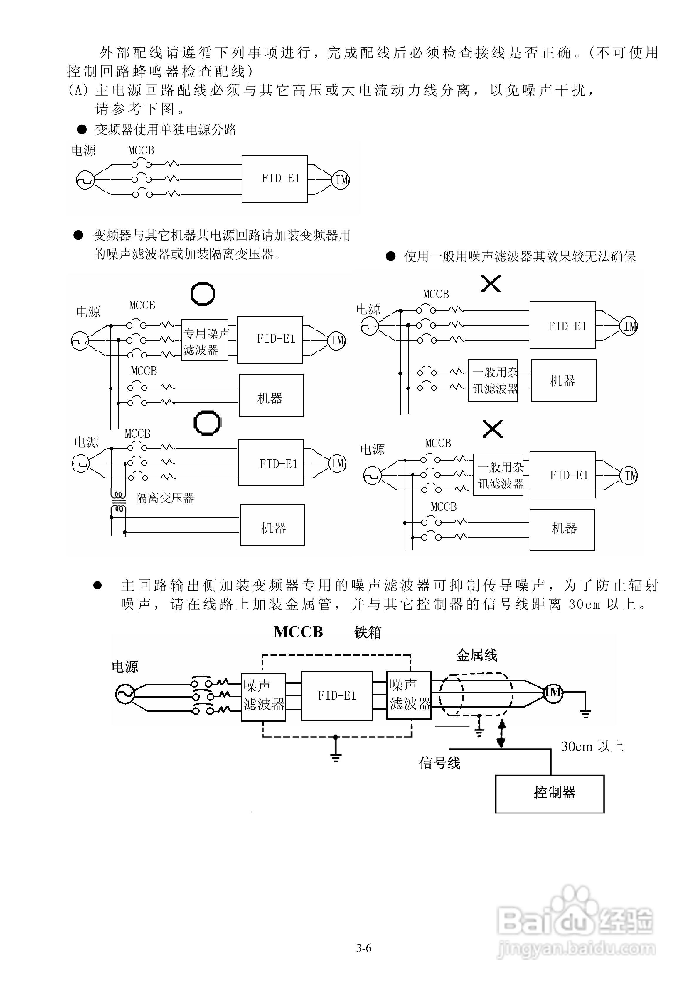
本篇为《FATEK FID-E1-004-23变频器使用说明书》,主要介绍该产品的使用方法以及常见故障解决方案。
(共篇)
上一篇:
|
下一篇:
声明:
本网站引用、摘录或转载内容仅供网站访问者交流或参考,不代表本站立场,如存在版权或非法内容,请联系站长删除,联系邮箱:site.kefu@qq.com。
相关推荐
FATEK FID-E1-004-23变频器使用说明书:[10]
阅读量:98
FATEK FID-S1-015-21变频器使用说明书:[2]
阅读量:123
FATEK FID-N1-550-43X变频器使用说明书:[2]
阅读量:173
FATEK FID-N1-550-43X变频器使用说明书:[1]
阅读量:174
FATEK FID-N1-550-43X变频器使用说明书:[11]
阅读量:38
猜你喜欢
老师评语怎么写
拉血怎么回事
哦怎么组词
怎么用ps去水印
头皮发麻是怎么回事
黑死病怎么消失的
怎么测排卵期
怎么发送文件夹
ps怎么美白
车厘子怎么保存才新鲜
猜你喜欢
电脑没有声音怎么回事
右下眼皮跳是怎么回事
永久自行车怎么样
玫瑰花怎么叠
筛子怎么玩
word文档行距怎么设置
大众汽车怎么样
vivo手机怎么连接电脑
斑怎么样才能去掉
鸡爪怎么烧简单又好吃