指南生活
首页
美食营养
手工爱好
生活家居
返回
指南生活
首页
美食营养
游戏数码
手工爱好
生活家居
健康养生
运动户外
职场理财
情感交际
母婴教育
时尚美容
知识问答
生活知识
搜索
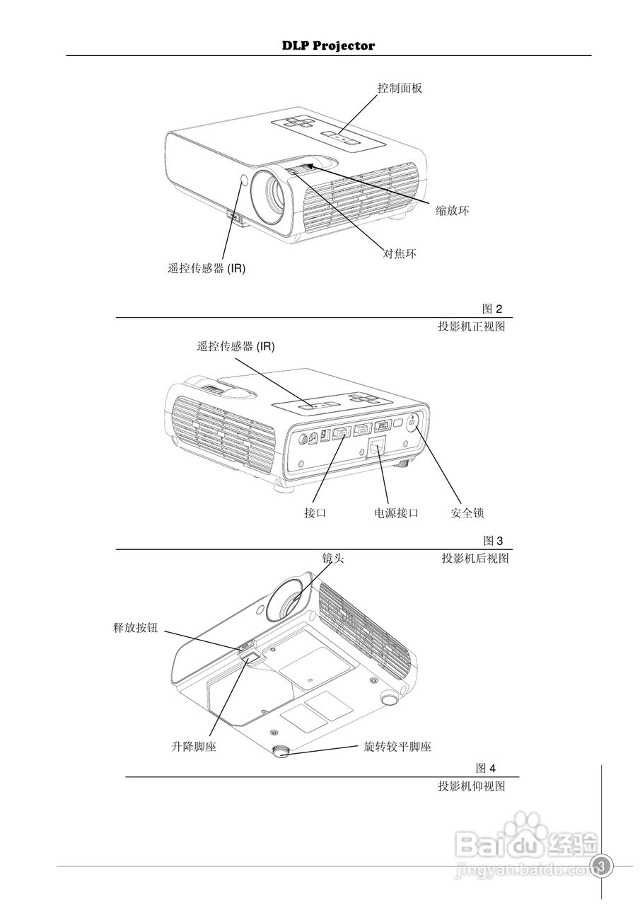
雅图ACTO DX110投影机使用说明书:[1]
2026-03-11 06:47:05
本篇为《雅图ACTO DX110投影机使用说明书》,主要介绍该产品的使用方法以及常见故障解决方案。
(共篇)
下一篇:
声明:
本网站引用、摘录或转载内容仅供网站访问者交流或参考,不代表本站立场,如存在版权或非法内容,请联系站长删除,联系邮箱:site.kefu@qq.com。
相关推荐
雅图ACTO DX128投影机使用说明书:[1]
阅读量:24
雅图ACTO DX123投影机使用说明书:[2]
阅读量:82
雅图ACTO DX125投影机使用说明书:[4]
阅读量:28
投影机ip设置
阅读量:109
投影机的安装与调试
阅读量:142
猜你喜欢
金陵科技学院怎么样
英语词汇速记大全
小学生谜语大全
七言绝句大全
一句话笑话大全爆笑
小学生班级口号大全
艾青的诗歌大全
名言警句大全
cad比例尺怎么设置
猪蹄的做法大全
猜你喜欢
皮卡车大全价格
作文200字大全
免费观看人成视频大全
密云旅游景点大全
fps怎么提高
咸肉的做法大全
黄蓓佳简介
油豆皮的做法大全
脸上皮肤松弛怎么办
黑白线描画图片大全