精工S-5840A系列温度开关说明书:[1]
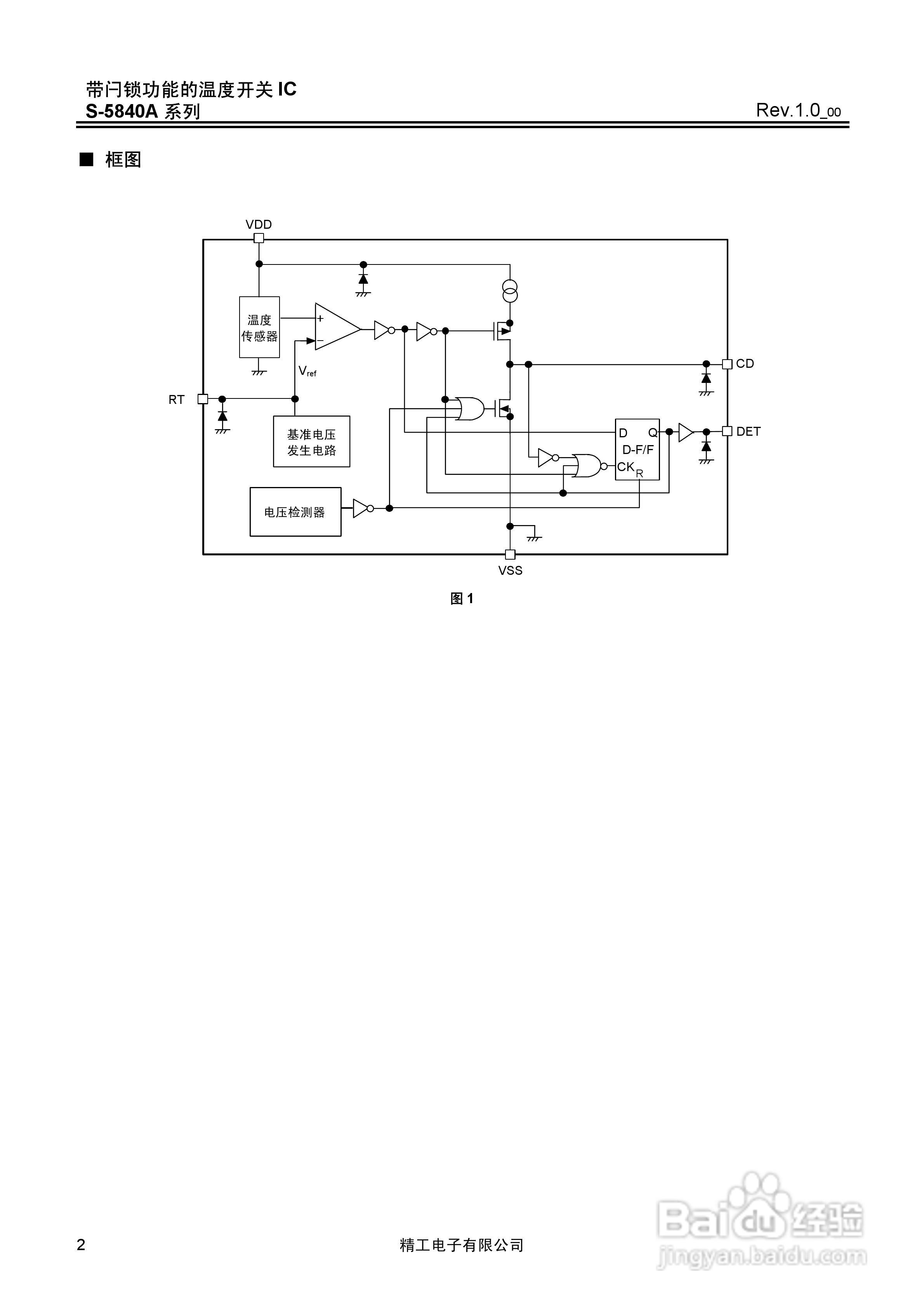
本篇为《精工S-5840A系列温度开关说明书》,主要介绍该产品的使用方法以及常见故障解决方案。
![精工S-5840A系列温度开关说明书:[1]](https://exp-picture.cdn.bcebos.com/430174fec314f1c5429963743c27ac5307889dcc.jpg)
![精工S-5840A系列温度开关说明书:[1]](https://exp-picture.cdn.bcebos.com/994f412043715fdbd0579b8f468920c5270f8ccc.jpg)
![精工S-5840A系列温度开关说明书:[1]](https://exp-picture.cdn.bcebos.com/3931cb413a8ca6085178b649db8c9bcec6f8fecc.jpg)
![精工S-5840A系列温度开关说明书:[1]](https://exp-picture.cdn.bcebos.com/e40b3127e7ef28066b79b068b840b6f39087f2cc.jpg)
![精工S-5840A系列温度开关说明书:[1]](https://exp-picture.cdn.bcebos.com/aebdff86242fa8729f679c51bfdaf05e4b23e9cc.jpg)
![精工S-5840A系列温度开关说明书:[1]](https://exp-picture.cdn.bcebos.com/19587f20a7cd0c6eec8a2006fed7997bbaf4ddcc.jpg)
![精工S-5840A系列温度开关说明书:[1]](https://exp-picture.cdn.bcebos.com/604e9556ad042e683491735485f85856d43dd1cc.jpg)
![精工S-5840A系列温度开关说明书:[1]](https://exp-picture.cdn.bcebos.com/cd93a566515985403e522657b5a23a42a17ac4cc.jpg)
![精工S-5840A系列温度开关说明书:[1]](https://exp-picture.cdn.bcebos.com/a151a233ec3834bb2e9780ea8714c27bd3823dcd.jpg)
![精工S-5840A系列温度开关说明书:[1]](https://exp-picture.cdn.bcebos.com/a007a9b1eef97fbd0d041606b74133bad24133cd.jpg)
声明:本网站引用、摘录或转载内容仅供网站访问者交流或参考,不代表本站立场,如存在版权或非法内容,请联系站长删除,联系邮箱:site.kefu@qq.com。
阅读量:194
阅读量:112
阅读量:173
阅读量:140
阅读量:66
本篇为《精工S-5840A系列温度开关说明书》,主要介绍该产品的使用方法以及常见故障解决方案。
![精工S-5840A系列温度开关说明书:[1]](https://exp-picture.cdn.bcebos.com/430174fec314f1c5429963743c27ac5307889dcc.jpg)
![精工S-5840A系列温度开关说明书:[1]](https://exp-picture.cdn.bcebos.com/994f412043715fdbd0579b8f468920c5270f8ccc.jpg)
![精工S-5840A系列温度开关说明书:[1]](https://exp-picture.cdn.bcebos.com/3931cb413a8ca6085178b649db8c9bcec6f8fecc.jpg)
![精工S-5840A系列温度开关说明书:[1]](https://exp-picture.cdn.bcebos.com/e40b3127e7ef28066b79b068b840b6f39087f2cc.jpg)
![精工S-5840A系列温度开关说明书:[1]](https://exp-picture.cdn.bcebos.com/aebdff86242fa8729f679c51bfdaf05e4b23e9cc.jpg)
![精工S-5840A系列温度开关说明书:[1]](https://exp-picture.cdn.bcebos.com/19587f20a7cd0c6eec8a2006fed7997bbaf4ddcc.jpg)
![精工S-5840A系列温度开关说明书:[1]](https://exp-picture.cdn.bcebos.com/604e9556ad042e683491735485f85856d43dd1cc.jpg)
![精工S-5840A系列温度开关说明书:[1]](https://exp-picture.cdn.bcebos.com/cd93a566515985403e522657b5a23a42a17ac4cc.jpg)
![精工S-5840A系列温度开关说明书:[1]](https://exp-picture.cdn.bcebos.com/a151a233ec3834bb2e9780ea8714c27bd3823dcd.jpg)
![精工S-5840A系列温度开关说明书:[1]](https://exp-picture.cdn.bcebos.com/a007a9b1eef97fbd0d041606b74133bad24133cd.jpg)